Сделать изометрическую проекцию. Учебное пособие: Проекционное черчение, аксонометрия
Класс Млекопитающие – процветающая группа позвоночных животных. Объясните, какие ароморфозы в строении органов позволии им достичь биологического прогресса. Укажите не менее четырех признаков.
=Какие ароморфные признаки характерны для млекопитающих?
Ответ
1. Имеют матку и плаценту, это позволяет осуществлять внутриутробное развитие и живорождение.
2. Имеются молочные железы, это позволяет выкармливать детенышей молоком.
3. Шерсть, потовые железы, подкожная жировая клетчатка, четырехкамерное сердце - обеспечивают теплокровность.
4. Дифференцированные зубы (резцы, клыки и коренные) позволяют измельчать пищу в ротовой полости.
5. Альвеолярные легкие - обеспечивают максимальную площадь газообмена.
6. Хорошее развитие головного мозга обеспечивает сложное поведение, которое позволяет приспосабливаться к меняющимся условиям среды.
Докажите принадлежность человека к классу млекопитающих.
Ответ
1. Человек имеет матку и плаценту.
2. Имеет молочные железы, выкармливет детей молоком.
3. Имеет шерсть (волосы).
4. Имеет дифференцированные зубы (резцы, клыки и коренные).
Найдите ошибки в приведенном тексте. Укажите номера предложений, в которых сделаны ошибки, исправьте их.
1. Нервная система млекопитающих характеризуется высокой степенью сложности. 2. В головном мозге особенно развиты полушария мозжечка, что обеспечивает сложность поведения млекопитающих. 3. У млекопитающих впервые появилось внутреннее ухо, что привело к резкому улучшению слуха животных. 4. Все млекопитающие, кроме первозверей, – живородящие животные. 5. Детеныши развиваются в плаценте, которая располагается в брюшной полости. 6. Млекопитающие, у которых развивается плацента, называются плацентарными.
Ответ
2. В головном мозге особенно развиты полушария переднего мозга, что обеспечивает сложность поведения млекопитающих.
3. У млекопитающих впервые появилось наружное ухо, что привело к резкому улучшению слуха животных.
5. Детеныши развиваются в плаценте, которая располагается в матке.
Чем отличается размножение плацентарных млекопитающих от пресмыкающихся? Укажите не менее трех отличий.
Ответ
1) У плацентарных млекопитающих зародыш развивается в матке внутри тела матери, а у пресмыкающихся – внутри яйца.
2) Зародыш млекопитающих получает питание от организма матери, зародыш пресмыкающихся
– из веществ, запасенных в яйце.
3) Зародыш млекопитающих, находящийся внутри тела матери, гораздо лучше защищен по сравнению с зародышем пресмыкающихся.
4) Большинство млекопитающих ухаживают за своим потомством, кормят его молоком. Большинство пресмыкающихся не ухаживают за потомством после его вылупления из яиц.
Какие общие черты строения имеются у рептилий и первозверей?
Ответ
1) Имеется клоака (расширение кишечника, в которое впадают мочеточники и протоки и половых желез).
2) Строение женской половой системы приспособлено к откладыванию яиц.
3) Имеется воронья
кость.
БОТАНИКА Часть С
С1. Почему при выращивании растений необходимо рыхлить почву? Ответ поясните.
Элементы ответа : 1) рыхление улучшает снабжение корней кислородом, т. е. их дыхание
2) рыхление способствует уменьшению испарения воды из почвы
С3 . Назовите особенности строения и питания лишайников и укажите их роль в природе.
Элементы ответа : 1) лишайники - комплексные (симбиотические) организмы, состоящие из гриба и цианобактерий или водорослей ;
2) гифы гриба обеспечивают организм минеральными солями и водой, а водоросли и цианобактерий синтезируют на свету органические вещества;
3) роль лишайников в природе: участие в образовании почвы, пионеры заселения неблагоприятных мест обитания, звено в цепи питания экосистемы.
С2 . Рассмотрите рисунок. Выскажите свое предположение о том, как опыляется цветок такого строения. Пользуясь рисунком, приведите не менее трёх обоснований, подтверждающих ваше мнение.
Элементы ответа
: 1) цветок опыляется ветром; 2) мохнатое раздвоенное рыльце хорошо улавливает пыльцу; 3) длинные тычиночные нити способствуют рассеиванию пыльцы; 4) редуцированный околоцветник (две цветковые чешуи) не препятствует проникновению пыльцы к пестику.
С2. Определите тип корневой системы и виды корней, обозначенных на рисунке цифрами 1 и 2. Из чего они образуются?
Элементы ответа : 1) тип корневой системы - стержневая;главный корень, образуется из зародышевого корешка; 3)2- боковой корень - ответвление главного корня.
С4. Как повлияло появление фотосинтезирующих организмов на дальнейшую эволюцию жизни на Земле?
Элементы ответа : Фотосинтезирующие организмы обеспечили: 1) преобразование энергии Солнца, синтез органических веществ из неорганических, питание гетеротрофов; 2) накопление кислорода в атмосфере, что способствовало появлению кислородного типа обмена веществ; 3) появление озонового слоя, защищающего организмы от ультрафиолетового излучения, что обеспечило выход организмов на сушу.
С1 . В XVIII веке английский ученый Д. Пристли провёл опыт. Он взял два одинаковых стеклянных колпака. Под первый колпак он поместил мышь, а под второй - мышь с комнатным растением . Объясните, почему спустя некоторое время первая мышь под стеклянным колпаком погибла, а вторая продолжала жить.
Элементы ответа : 1) первая мышь погибла из-за недостатка кислорода и избытка углекислого газа, выделенного при дыхании; 2) комнатное растение в процессе фотосинтеза поглощало углекислый газ и выделяло кислород, необходимый для дыхания обоих организмов, поэтому вторая мышь продолжала жить.
С2.
Пользуясь рисунком, найдите признаки, доказывающие принадлежность цветкового растения к классу двудольных. Какой тип корневой системы изображён на рисунке? Объясните, почему такой тип корневой системы развился у растения.
Элементы ответа : 1) листья имеют сетчатое жилкование; 2) цветок пятичленного типа; 3) мочковатая корневая система; 4) у растения в связи с вегетативным размножением (усами) придаточные корни отрастают от стеблей
С4 . Какие приспособления сформировались у растений в процессе эволюции в связи с широким распространением на суше? Приведите не менее трёх примеров.
3) сочетание богатой органики из отмерших растений и обмеления приводит к усилению полуводной растительности, и происходит заболачивание.
С4 . Раскройте роль растений в историческом Приведите не менее четырёх значений.
Элементы ответа : 1) обеспечили преобразование солнечной энергии, создание органических веществ и питание гетеротрофных организмов;
2) обеспечили накопление в атмосфере кислорода и появление аэробных организмов;
3) способствовали формированию озонового слоя, что обеспечило выход организмов на сушу;
4) участвовали в образовании почвы, торфа, полезных ископаемых, выполняют средообразующую функцию.
С1. У людей с серповидно-клеточной анемией образуется аномальный гемоглобин, что приводит к образованию изменённых эритроцитов. О каком виде мутаций идет речь? Ответ обоснуйте.
Элементы ответа : 1) серповидно-клеточная анемия вызвана генной мутацией; 2) происходит изменение последовательности аминокислот в гемоглобине, что связано с нарушением структуры гена, кодирующего первичную структуру молекулы гемоглобина
С4 . В процессе эволюции у организмов сформировались различные приспособления к среде обитания. Каково их значение и в чем проявляется относительный характер приспособленности? Ответ поясните примером.
Элементы ответа : 1) приспособленность помогает организму выжить в тех условиях, в которых она сформировалась под действием движущих сил эволюции; 2) любая черта приспособленности полезна организму для жизни в определённых условиях, в изменившихся условиях приспособленность становится бесполезной и даже вредной -в этом проявляется относительный характер приспособленности; 3) любой пример (сезонное изменение окраски зайца-беляка).
С1. Почему в ходе естественного отбора не выбраковываются все вредные генные мутации? Каково значение этих мутаций для эволюции?
Элементы ответа : 1) многие генные мутации являются рецессивными и сохраняются в генофонде популяций в гетерозиготных организмах; 2) при изменении условий внешней среды некоторые ранее вредные рецессивные мутации могут оказаться полезными, и их носители получат преимущество в борьбе за существование, в результате этого может образоваться новый вид.
С1. К каким глобальным изменениям на планете может привести массовое уничтожение лесов? Приведите не менее трёх примеров.
Элементы ответа : 1) к изменению состава воздуха, содержания углекислого газа и кислорода в атмосфере, парниковому эффекту;
2) к уменьшению биоразнообразия;
3) изменение водного режима почвы приводит к сё эрозии, иссушению и опустыниванию.
С4 . В открытых пространствах степей и прерий разных континентов в прошлом паслись стада разных видов травоядных: бизонов, антилоп, диких туров, диких лошадей. Какие причины привели к сокращению численности и полному исчезновению некоторых видов к настоящему времени?
Элементы ответа : 1) естественные пространства степей и прерий превращались в сельскохозяйственные угодья
2) сокращение естественных мест обитания привело к резкому снижению численности диких животных
3) часть животных была уничтожена охотой
С1 К каким экологическим последствиям могут привести лесные пожары на территории России?
Элементы ответа : 1) полное исчезновение некоторых видов растений и животных
2) изменение структуры биоценоза, нарушение облика ландшафта
С4. В отдельные годы в природе наблюдаются вспышки численности насекомых-вредителей. Какие биотические факторы могут уменьшить их численность? Приведите не менее 3-х факторов.
Элементы ответа : 1) Увеличение численности насекомоядных птиц
3) внутривидовая и межвидовая конкуренция за пищу и убежища
С5.
1 . Как происходит преобразование энергии солнечного света в световой и темновой фазах фотосинтеза в энергию химических связей глюкозы? Ответ поясните.
:
1) энергия солнечного света преобразуется в энергию возбуждённых электронов хлорофилла;
2) энергия возбуждённых электронов преобразуется в энергию макроэргических связей АТФ, синтез которой происходит в световую фазу (часть энергии используется для образования НАДФ-2Н);
3) в реакциях темновой фазы энергия АТФ превращается в энергию химических связей глюкозы, которая синтезируется в темновую фазу.
2 . Известно, что все виды РНК синтезируются на ДНК-матрице. Фрагмент молекулы ДНК, на которой синтезируется участок центральной петли тРНК, имеет следующую последовательность нуклеотидов: АЦГЦЦГЦТААТТЦАТ. Установите нуклеотидную последовательность участка тРНК, который синтезируется на данном фрагменте, и аминокислоту, которую будет переносить эта тРНК в процессе биосинтеза белка, если третий триплет соответствует антикодону тРНК. Ответ поясните. Для решения задания используйте таблицу генетического кода.
Схема решения задачи включает :
1) нуклеотидная последовательность участка тРНК УГЦГТЦГАУУААГУА;
2) нуклеотидная последовательность антикодона ГАУ (третий триплет) соответствует кодону на иРНК ЦУА;
3) по таблице генетического кода этому кодону соответствует аминокислота Лей, которую будет переносить данная тРНК.
3 . Хромосомный набор соматических клеток пшеницы равен 28. Определите хромосомный набор и число молекул ДНК в одной из клеток семязачатка перед началом мейоза, в анафазе мейоза I и анафазе мейоза II. Объясните, какие процессы происходят в эти периоды и как они влияют на изменение числа ДНК и хромосом.
Схема решения задачи включает :
2) в анафазе мейоза I число молекул ДНК 56, число хромосом - 28, к полюсам клетки расходятся гомологичные хромосомы;
3) в анафазе мейоза II число молекул ДНК - 28, хромосом - 28, к полюсам клетки расходятся сестринские хроматиды - хромосомы, так как после редукционного деления мейоза I число хромосом и ДНК уменьшилось в 2 раза
4. Известно, что все виды РНК синтезируются на ДНК-матрице. Фрагмент цепи ДНК, на которой синтезируется участок центральной петли тРНК, имеет следующую последовательность нуклеотидов: АЦГГТААТТГЦТАТЦ. Установите нуклеотидную последовательность участка тРНК, который синтезируется на данном фрагменте, и аминокислоту, которую будет переносить эта тРНК в процессе биосинтеза белка, если третий триплет соответствует антикодону тРНК. Ответ поясните. Для решения задания используйте таблицу генетического кода.
Схема решения задачи включает : 1) нуклеотидная последовательность участка тРНК: УГЦЦАУУААЦГАУАГ; 2) нуклеотидная последовательность антикодона УАА (третий триплет) соответствует кодону на иРНК АУУ; 3) по таблице генетического кода этому кодону соответствует аминокислота Иле, которую будет переносить данная тРНК.
5. Известно, что все виды РНК синтезируются на ДНК-матрице. Фрагмент молекулы ДНК, на которой синтезируется участок центральной петли тРНК, имеет следующую последовательность нуклеотидов: АЦГГТААААГЦТАТЦ. Установите нуклеотидную последовательность участка тРНК, который синтезируется на данном фрагменте, и аминокислоту, которую будет переносить эта тРНК в процессе биосинтеза белка, если третий триплет соответствует антикодону тРНК. Ответ поясните. Для решения задания используйте таблицу генетического кода.
Схема решения задачи включает : 1) нуклеотидная последовательность участка тРНК: УГЦЦАУУУУЦГАУАГ; 2) нуклеотидная последовательность антикодона УУУ (третий триплет) соответствует кодону на иРНК ААА; 3) по таблице генетического кода этому кодону соответствует аминокислота Лиз, которую будет переносить данная тРНК.
6. Известно, что все виды РНК синтезируются на ДНК-матрице. Фрагмент цепи ДНК, на которой синтезируется участок центральной петли тРНК, имеет следующую последовательность нуклеотидов: ТГЦЦЦАТТЦГТТАЦГ. Установите нуклеотидную последовательность участка тРНК, который синтезируется на данном фрагменте, и аминокислоту, которую будет переносить эта тРНК в процессе биосинтеза белка, если третий триплет соответствует антикодону тРНК. Ответ поясните. Для решения задания используйте таблицу генетического кода.
Схема решения задачи включает :
1) нуклеотидная последовательность участка тРНК - АЦГГГУААГЦААУГЦ; 2) нуклеотидная последовательность антикодона ААГ (третий триплет) соответствует кодону на иРНК УУЦ; 3) по таблице генетического кода этому кодону соответствует аминокислота Фен, которую будет переносить данная тРНК
7. Хромосомный набор соматических клеток пшеницы равен 28. Определите хромосомный набор и число молекул ДНК в клетках кончика корня перед началом митоза, в метафазе и в конце телофазы. Поясните, какие процессы происходят в эти периоды и как они влияют на изменение числа молекул ДНК и хромосом.
Схема решения задачи включает :
1) перед началом митоза число молекул ДНК – 56, т. к. они удваиваются, а число хромосом не меняется - 28
2) в метафазе митоза число ДНК – 56, хромосом 28, хромосомы располагаются в плоскости экватора, нити веретена деления соединены с цетромерами
3) в конце телофазы митоза образуется 2 ядра, в каждом ядре число ДНК – 28, хромосом – 28. далее образуется 2 клетки с набором хромосом идентичным исходной материнской клетке
8. Какой хромосомный набор характерен для клеток листьев, спор, заростка папоротника. Объясните, как формируется набор хромосом в каждом случае.
Схема решения задачи включает :
1) в клетках листа папоротника диплоидный набор хромосом 2n, т. к. взрослое растение папоротника является спорофитом и развивается из оплодотворенной яйцеклетки
2) в споре папортника гаплоидный набор хромосом – n, т. к. споры образуются в результате мейоза, поэтому набор хромосом в 2 раза меньше
3) в клетках заростка гаплоидный набор хромосом – n, т. к. заросток развивается из гаплоидной споры
9 . Хромосомный набор соматических клеток пшеницы 28. Определите хромосомный набор и число молекул ДНК в клетках кончика корня перед началом митоза, в анафазе и в конце телофазы митоза. Поясните, какие процессы происходят в эти фазы и как они влияют на изменение числа молекул ДНК и хромосом.
Схема решения задачи включает :
1) перед началом митоза число молекул ДНК – 56, т. к. они удваиваются. А число хромосом не изменяется – 28.
2) В анафазе митоза число молекул ДНК – 56, хромосом – 56. К полюсам клетки расходятся сестринские хромосомы, поэтому общее число хромосом в клетке увеличивается в 2 раза
3) в конце телофазы митоза образуются 2 ядра, число молекул ДНК – 28, хромосом – 28, далее образуется 2 клетки с набором хромосом идентичным материнской клетке
10 . Хромосомный набор соматических клеток пшеницы равен 28. Определите хромосомный набор и число молекул ДНК в клетках семязачатка перед началом мейоза, в метафазе мейоза I и метафазе мейоза II. Объясните, какие процессы происходят в эти периоды и как они влияют на изменение числа ДНК и хромосом.
1) перед началом мейоза число молекул ДНК - 56, так как они удваиваются, а число хромосом не изменяется - их 28;
2) в метафазе мейоза I число молекул ДНК - 56, число хромосом - 28, гомологичные хромосомы попарно располагаются над и под плоскостью экватора, веретено деления сформировано;
3) в метафазе мейоза II число молекул ДНК - 28, хромосом - 14, так как после редукционного деления мейоза I число хромосом и ДНК уменьшилось в 2 раза, хромосомы располагаются в плоскости экватора, веретено деления сформировано.
11. Известно, что все виды РНК синтезируются на ДНК-матрице. Фрагмент ДНК, на которой синтезируется участок центральной петли тРНК следующую последовательность нуклеотидов: АЦГ-ЦГА-ЦГТ-ГГТ-ЦГА Установите нуклеотидную последовательность участка тРНК, который синтезируется на данном фрагменте, и аминокислоту, которую переносить эта тРНК в процессе биосинтеза белка, если третий триплет соответствует антикодону тРНК. Ответ поясните.
Схема решения задачи включает : 1) нуклеотидная последовательность участка тРНК: УГЦ-ГЦУ-ГЦА-ЦЦА-ГЦУ; 2) нуклеотидная последовательность антикодона - ГЦА (третий триплет) соответствует кодону на иРНК ЦГУ; 3) по таблице генетического кода этому кодону соответствует аминокислота Apr, которую будет переносить данная тРНК.
12. Хромосомный набор соматических клеток пшеницы равен 28. Определите хромосомный набор и число молекул ДНК в клетках семязачатка перед началом мейоза, в конце профазы мейоза I и в конце телофазы мейоза I. Объясните, какие процессы происходят в эти периоды и как они влияют на изменение числа ДНК и хромосом.
Схема решения задачи включает:
1) перед началом мейоза число молекул ДНК - 56, так как они удваиваются, а число хромосом не изменяется - их 28;
2) в профазе мейоза I число молекул ДНК 56, число хромосом - 28, хромосомы спирализованы, гомологичные хромосомы попарно соединяются и образуют биваленты, происходит конъюгация и кроссинговер;
3) в телофазе мейоза I число молекул ДНК - 28, число хромосом - 14, происходит редукционное деление, образуются 2 клетки с гаплоидным набором хромосом, каждая хромосома состоит из двух сестринских хроматид.
13 . Какой хромосомный набор характерен для листьев растения мха кукушкина льна, его гамет и спорогона (коробочки на ножке). Объясните результат в каждом случае
Схема решения задачи включает:
1) в листьях – гаплоидный набор хромосом – n, т. к. взрослое растение развивается из гаплоидной споры
2) гаметы – гаплоидны – n, т. к. развиваются на взрослом растении путем митоза
3) спорогон – диплоидный – 2n, т. к. развивается из зиготы
С6
1. У кукурузы рецессивный ген «укороченные междоузлия» (b) находится в одной хромосоме с рецессивным геном «зачаточная метелка» (v). При проведении анализирующего скрещивания с растением, имеющим нормальные междоузлия и нормальную метелку, всё потомство было похоже на одного из родителей. При скрещивании полученных гибридов между собой в потомстве оказалось 75% растений с нормальными междоузлиями и нормальными метелками, а 25% растений с укороченными междоузлиями и зачаточной метелкой. Определите генотипы родителей и потомства в двух скрещиваниях. Составьте схему решения задачи. Объясните полученные результаты. Какой закон наследственности проявляется во втором случае?
Схема решения задачи включает :
1) первое скрещивание генотипы родителей: норма: BBVV x bbvv
гаметы:BV bv
потомство: BbVv;
2) второе скрещивание генотипы родителей: BbVv х BbVv
гаметы: BV, bv BV, bv
потомство: 75% BBVV и BbVv, 25% bbvv;
3) гены сцеплены, кроссинговер не происходит. Проявляется закон сцепленного наследования признаков Моргана.
2. У овец серая окраска (А) шерсти доминирует над чёрной, а рогатость (В) - над комолостью (безрогостью). Гены не сцеплены. В гомозиготном состоянии ген серой окраски вызывает гибель эмбрионов. Какое жизнеспособное потомство (по фенотипу и генотипу) и в каком соотношении можно ожидать от скрещивания дигетерозиготной овцы с гетерозиготным серым комолым самцом? Составьте схему решения задачи. Объясните полученные результаты. Какой закон наследственности проявляется в данном случае?
Схема решения задачи включает :
1) генотипы родителей: Р самка -AaBb x самец –Aabb
гаметыG AB, Ab, aB, ab Ab, ab
2) потомство: F1: 2 серые рогатые - АаВЬ, 2 серые комолые - Aabb, 1 чёрная рогатая - ааВЬ, 1 чёрная комолая - aabb;
3) в потомстве гомозиготные серые комолые овцы AAbb, ААВЬ отсутствуют в результате гибели эмбрионов. Проявляется закон независимого наследования признаков Менделя.
3 . Группа крови и резус-фактор - аутосомные несцепленные признаки. Группа крови контролируется тремя аллелями одного гена - i°, IA, IВ. Аллели IА и IB доминантны по отношению к аллелю i°. Первую группу (0) определяют рецессивные гены i°, вторую группу (А) определяет доминантный аллель IA, третью группу (В) определяет доминантный аллель IB, а четвертую (АВ) - два доминантных аллеля IA IB. Положительный резус-фактор R доминирует над отрицательным r.
У отца первая группа крови и отрицательный резус, у матери - вторая группа и положительный резус (дигетерозигота). Определите генотипы родителей, возможные генотипы и фенотипы детей, их группы крови и резус-фактор. Составьте схему решения задачи. Какой закон наследственности проявляется в данном случае?
Схема решения задачи включает :
1) генотипы родителей: матери - IAi°Rr, отца - i°i°rr
гаметы IAR, IAr, i°R, i°r, i°r;
2) потомство: вторая группа, резус положительный - IAi°Rr; вторая группа резус отрицательный - IAi°rr; первая группа резус положительный - i°i°Rr; первая группа резус отрицательный i°i°rr
4. У овец серая окраска (А) шерсти доминирует над чёрной, а рогатость (В) - над комолостью (безрогостью). Гены не сцеплены. В гомозиготном состоянии ген серой окраски вызывает гибель эмбрионов. Какое жизнеспособное потомство (по фенотипу и генотипу) и в каком соотношении можно ожидать от скрещивания дигетерозиготной овцы с чёрным рогатым (гомозигота) самцом? Составьте схему решения задачи. Какой закон наследственности проявляется в данном случае?
Схема решения задачи включает :
1) генотипы родителей: Р самка-AaBb x самец – ааВВ
гаметы G AB, Ab, aB, ab аВ
2) потомство F1: серые рогатые - АаВВ, АаВЬ, чёрные рогатые - ааВВ, ааВЬ;
3) проявляется закон независимого наследования признаков Менделя.
5. У овец серая окраска (А) шерсти доминирует над чёрной, а рогатость (В) - над комолостью (безрогостью). Гены не сцеплены. В гомозиготном состоянии ген серой окраски вызывает гибель эмбрионов. Какое жизнеспособное потомство (по фенотипу и генотипу) и в каком соотношении можно ожидать от скрещивания дигетерозиготной овцы с серым рогатым самцом, гомозиготным по второму признаку? Составьте схему решения задачи. Объясните полученные результаты. Какой закон наследственности проявляется в данном случае?
Схема решения задачи включает :
1) генотипы родителей: Р самка-AaBb x самец-АаВВ
гаметы G AB, Ab, aB, ab AB, аВ
2) потомство Fi: серые рогатые - АаВВ, АаВЬ, чёрные рогатые - ааВВ, ааВЬ;
3) гомозиготные серые рогатые ААВВ, ААВЬ отсутствуют в результате гибели эмбрионов. Проявляется закон независимого наследования признаков Менделя.
6 . У канареек сцепленный с полом ген ХВ определяет зеленую окраску опрения, Хb – коричневую. У птиц гомоаметный пол – мужской, гетерогаметный – женский, наличие хохолка – доминантный аутосомный признак (А). Зеленого хохлатого самца скрестили с коричневой без хохолка самкой. В потомстве оказались хохлатые зеленые, хохлатые коричневые, без хохолка зеленые и без хохолка коричневые. Составьте схему решения задачи, определите генотипы родителей и потомства, соответствующие им фенотипы, определите возможный пол потомства. Какие законы наследственности проявляются в данном случае?
Схема решения задачи включает :
1) Р: ♀ аа Хb У х ♂ Аа ХВ Хb
G: а Хb; а У АХВ; А Хb; а ХВ; а Хb
2) Генотипы и фенотипы потомства:
Аа ХВ Хb - ♂ зеленый хохлатый
Аа Хb Хb - ♂ коричневый хохлатый
аа ХВ Хb - ♂ зеленый без хохолка
аа Хb Хb - ♂ коричневый без хохолка
Аа ХВУ - ♀ зеленая хохлатая
Аа ХbУ - ♀ коричневая хохлатая
аа ХВУ - ♀ зеленая без хохолка
аа ХbУ - ♀ коричневая без хохолка
3) проявляется закон независимого наследования и наследования признаков, сцепленных с полом
7 . У канареек сцепленный с полом ген ХВ определяет зеленую окраску опрения, Хb – коричневую. У птиц гомоаметный пол – мужской, гетерогаметный – женский, наличие хохолка – доминантный аутосомный признак (А). Хохлатого коричневого самца скрестили с зеленой самкой без хохолка. В потомстве все самки были с хохлом и без хохла коричневыми, а все самцы с хохлом и без хохла – зелеными. Определите генотипы родителей и потомства, соответствующие их фенотипам, какие законы наследования проявляются. Составьте схему решения задачи.
Схема решения задачи включает :
1) Р: ♀ааХВУ х ♂АаХbХb
G: аХВ аУ АХb аХb
2) F1: АаХВХb – ♂хохлатый зеленый
ааХВХb - ♂без хохла зеленый
АаХВУ - ♀хохлатая коричневая
ааХВУ - ♀без хохла коричневая
3) проявляется закон независимого наследования признаков и сцепленного с полом наследования
8. У канареек сцепленный с полом ген ХВ определяет зеленую окраску опрения, Хb – коричневую. У птиц гомоаметный пол – мужской, гетерогаметный – женский, наличие хохолка – доминантный аутосомный признак (А). Хохлатого коричневого самца скрестили с зеленой самкой без хохолка. Все потомство оказалось хохлатым, но все самки коричневые, а самцы – зеленые. Определите генотипы родителей и потомства, соответствующие их фенотипам. Какие закономерности наследования проявляются в данном случае. Составьте схему решения задачи.
Схема решения задачи включает :
1) Р: ♀ааХВУ х ♂ ААХbХb
G: аХВ; аУ АХb
2) F1 АаХВХb - ♂хохлатый зеленый
АаХbУ - ♀ хохлатая коричневая
3) проявляются законы независимого наследования признаков и сцепленного с полом наследования признаков
9 . По изображенной на рисунке родословной определите и объясните характер наследования признака, выделенного черным цветом. Определите генотипы родителей, потомком 1,6, 7 И объясните формирование их генотипов.
https://pandia.ru/text/79/197/images/image016_0.gif" width="29">Схема решения задачи включает :
2) генотипы родителей: отец – XаY, мать – XА XА, дочь 1 –XА Xа носитель гена, так как наследует Ха - хромосому от отца;
3) дети: дочь 6 XА XА или XА Xа, сын 7 XаY, признак проявился, так как наследуем Ха - хромосому от матери.
10. У собак черпая шерсть доминирует над коричневой, а длинная шерсть над короткой (гены не сцеплены). От черной длинношёрстной самки при анализирующем скрещивании получено потомство: 3 щенка чёрных короткошёрстных, 3 щенка чёрных длинношёрстных. Определите генотипы родителей и потомства, соответствующие их фенотипам. Составьте схему решения задачи. Объясните полученные результаты.
Схема решения задачи включает : 1) генотипы родителей: Р самка - AABb x самец –aabb
гаметы G АВ, Ab, ab;
2) потомство F1: чёрные короткошёрстные - Aabb, чёрные длинношёрстные - АаВЬ;
3) если при анализирующем дигибридном скрещивании в потомстве появляются 2 фенотипические группы в соотношении 1:1, то самка с доминантным фенотипом гетерозиготна по признаку длины шерсти
11. У канареек сцепленный с полом ген XВ определяет зеленую окраску оперения, а Xb - коричневую. У птиц гомогаметный пол - мужской, а гетерогаметный - женский. Наличие хохолка - доминантный аутосомный признак А. Зелёного хохлатого самца скрестили с коричневой без хохла самкой. Всё потомство оказалось хохлатым, но половина была с зелёным, а половина с коричневым опереньем. Составьте схему решения задачи. Определите генотипы родителей и потомства, соответствующие их фенотипам, возможный пол потомства. Какие законы наследственности проявляются в данном случае?
Схема решения задачи включает : 1) генотипы родителей: Р самка ааXbY х самец ААХВХb
Гаметы аXb аY АХВ АХb
2) генотипы потомства F1:
самцы: хохлатые зеленые АаХВХb; хохлатые коричневые АаХbХb;
самки хохлатые зеленые АаХВУ; хохлатые коричневые - АаХbУ
3) независимое наследование признаков и признаков, сцепленных с полом
12. По изображенной на рисунке родословной определите и объясните характер наследования признака, выделенного черным цветом. Определите генотипы родителей 3,4, потомком 8,11. И объясните формирование их генотипов.
https://pandia.ru/text/79/197/images/image016_0.gif" width="29">Схема решения задачи включает :
1) признак рецессивный, сцеплен с полом (Х-хромосомой), так как проявляетеся только у мужчин и не в каждом поколении;
2) генотипы родителей: отец – XАY, т. к. признак отсутствует; мать 3 – XА Xа носитель гена, т. к. наследует Xа –хромосому от своего отца,
3) дети: сын 8 - XаУ, т. к. наследует хромосому Xа от матери 3; дочь 11 XА Xа – носитель гена, т. к. наследует хромосому XА от матери и Xа от отца
13. У собак черный цвет шерсти доминирует над коричневым, длинная шерсть над короткой. От черной короткошерстной самки и коричневого длинношерстного самца появились 1 щенок черный короткошерстный. 1 щенок коричневый длинношерстный. Определите генотипы родителей и потомства, соответствующие фенотипам. Какой закон наследственности проявляется?
Схема решения задачи включает : 1) Р ♀Ааbb х ♂ ааВb
Гаметы Аb ab aB ab
2) F1: черные длинношерстные АаВb
черные короткошерстные ААbb
коричневые длинношерстные ааВb
коричневые короткошерстные aabb
3) Проявляется закон независимого наследования
14. У женщины с прямыми волосами без веснушек оба родителя имеют курчавые волосы и веснушки . Гены не сцеплены. Ее муж дигетерозиготен по этим признакам. Определите генотипы женщины, ее мужа, возможные генотипы и фенотипы их детей. Какой закон наследственности проявляется в данном случае? Составьте схему скрещивания.
Схема решения задачи включает:
1) Р: ♀ааbb х ♂АаВb
гаметы аb AB Ab aB ab
2) Возможное потомство
АаBb – курчавые с веснушками
Aabb – курчавые без веснушек
aaBb – прямые волосы с веснушками
aabb – прямые волосы без веснушек
3) проявляется закон независимого наследования признаков
Животные__Вопросы и ответы уровня «С»
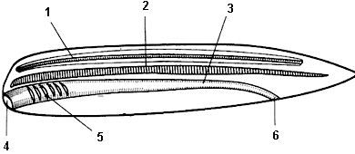
На рисунке изображен общий план строения хордового животного. Подпишите названия частей, отмеченных цифрами.
1- хорда, 2 - нервная трубка, 3 - анальное отверстие, 4 - пищеварительная трубка, 5 - сердце, 6 - жаберныещели, 7 - ротовое отверстие.
Найдите ошибки в приведенном тексте, исправьте их, укажите номе ра предложений, в которых они сделаны, запишите эти предложения без ошибок.
Класс ракообразных - является самым многочисленным классом типа Членистоногие.
Тело ракообразных состоит из головогруди и брюшка.
Имеется 3 пары ходильных ног.
Перед ходильными ногами располагаются клешни.
Все ракообразные ведут водный образ жизни.
Элементы ответа:
1) самый многочисленный класс типа Членистоногие - это насекомые;
3) имеется 4 пары ходильных ног;
5) некоторые ракообразные, например мокрицы и сухопутные крабы, могут жить на суше.
В чем состоит преимущество внутреннего оплодотворения по сравнению с наружным?
Внутреннее оплодотворение возникло в результате выхода организмов на сушу. Благодаря внутреннему оплодотворению организмы становятся независимы от воды (для передвижения сперматозоидов), происходит экономия биологического материала, так как сперматозоиды не распыляются в воде, а все попадают по назначению.
Какие основные черты строения характерны для типа Хордовые?
Элементы ответа:
внутренний осевой скелет - хорда, у позвоночных она сохраняется только в эмбриональный период, заменяясь впоследствии хрящевым или костным позвоночником;
центральная нервная система представляет собой трубку, расположенную на спинной стороне тела;
пищеварительная трубка располагается под хордой, в переднем глоточном отделе имеются жаберные щели, сохраняющиеся в течение всей жизни у водных животных, а у остальных они имеются только в эмбриогенезе.
Почему у многих животных, обитающих в почве, развито обоняние?
В почве нет света, в связи с этим у крота недоразвиты органы зрения. Как компенсация, лучше развито обоняние, оно необходимо для поиска пиши, ориентации и защиты от врагов.
Какие приспособления к полёту возникают в скелете птиц?
Произошли изменения в поясах передних и задних конечностей, передние конечности видоизменились в крылья.
Появился киль, способствующий полету.
Челюстной аппарат преобразовался в клюв.
Очень подвижный шейный отдел позвоночника.
Наличие облегченных костей, имеющих воздушные полости.
Отсутствие зубов.
Какие примитивные черты организации сохранились у земноводных?
Размножение и развитие земноводных происходит в воде.
Яйца не имеют защитной оболочки.
Кожа не защищает организм от высыхания, поэтому земноводные живут вблизи водоемов, во влажной среде.
Непостоянна температура тела, с изменением температуры воздуха изменяется процесс
жизнедеятельности.
Перечислите приспособления к водной среде у рыб?
Обтекаемая форма тела;
тело покрыто чешуей и слизью;
наличие плавников;
органы дыхания - жабры;
наличие плавательного пузыря.
Коралловые полипы живут на сравнительно небольших глубинах. С чем это может быть связано?
Вместе с кораллами или внутри них обитают фотосинтезирующие водоросли, поставляющие органическое вещество полипан. А так как фотосинтез возможен только на относительно небольших глубинах, то кораллы не живут глубже 150-200 м.
Как доказать, что киты относятся к классу Млекопитающие?
Киты вскармливают свои детенышей молоком, поэтому относятся к классу млекопитающих.
У одного из позвоночных животных в шерсти растут мхи. Какие особенности образа жизни этого животного делает это возможным?
Элементы ответа:
1) животное должно вести малоподвижный образ жизни;
2) местообитание животного должно быть влажным и солнечным для обеспечения нормального фотосинтеза мхов;
3) линька животного должна протекать медленно, что дает мху возможность закрепиться;
4) действительно, мхи и водоросли обнаружены в шерсти некоторых ленивцев, обитающих во влажных тропических лесах.
Каковы основные отличительные особенности класса Млекопитающие?
Элементы ответа:
1) высокий уровень развития органов чувств и центральной нервной системы, особенно коры больших полушарий;
2) внутриутробное развитие, живорождение, выкармливание детенышей молоком, которое вырабатывают молочные железы;
3) разделение диафрагмой полости тела на грудную и брюшную, теплокровность.
Орнитологи обратили внимание на то, что как правило в гнездах разных птиц все яйца тупым концом обращены к наружной стенке гнезда или вверх. Объясните это явление.
Элементы ответа:
1) на тупом конце яйца находится воздушная камера;
2) положение яйца способствует лучшему газообмену с внешней средой, что необходимо для дыхания зародыша.
Какие функции выполняет плацента у млекопитающих животных?
Элементы ответа:
1) обеспечивает газообмен и питание зародыша;
2) обеспечивает связь зародыша с материнским организмом;
3) является органом выделения.
Приведите примеры животных, развивающихся с полным превращением.
Жуки, бабочки, лягушки, пчелы, мухи.
Какие стадии в своем развитии проходят насекомые?
Полного и неполного превращения: яйцо, личинка, взрослая форма ил! яйцо, личинка, куколка, взрослая форма.
Дайте общую характеристику подцарства одноклеточных животных.
К подцарству «Одноклеточные» относятся организмы, тело которых состоит из одной клетки. Это самостоятельные биологические системы, способные к обмену веществ, размножению, росту и развитию. Они широко распространены на планете и занимают самые различные среды обитания. Клетка простейшего состоит из цитоплазмы, одного или нескольких ядер. В цитоплазме находятся все характерные для эукариотической клетки органоиды. Передвигаются с помощью ложноножек, жгутиков, ресничек. Размножаются бесполым и половым путями. Примерами простейших могут служить саркодовые, инфузории, жгутиковые, споровики.
Найдите ошибки, допущенные в тексте. Укажите номера предложений, в которых они сделаны, объясните их.
1.К чертам, отличающих птиц от пресмыкающихся, можно отнести
прогрессивное развитие органов зрения, слуха, координации движений.
2.У птиц несколько хуже, чем у пресмыкающихся, развита терморегуляция.
3.Четырехкамерное сердце птиц имеет неполную перегородку в желудочке.
4.К приспособлениям птиц к полету можно отнести: обтекаемую форму тела, крылья, заполненные плотным веществом кости, наличие газообмена и в легких, и воздушных мешках.
Ошибки допущены в предложениях 2, 3, 4.
2 - терморегуляция у птиц совершеннее, чем у пресмыкающихся;
3 - у птиц полная перегородка между желудочками; 4 - кости у птиц полые,а газообмена в воздушных мешках не происходит.
1. К чертам, отличающих птиц от пресмыкающихся, можно отнес прогрессивное развитие органов зрения, слуха, координации движений.
2. У птиц несколько хуже, чем у пресмыкающихся, развита терморегуляция.
3. Четырехкамерное сердце птиц имеет неполную перегородку меж желудочками.
4. К приспособлениям птиц к полету можно отнести: обтекаемую форму тела, крылья, заполненные плотным веществом кости, наличие газообмена и в легких, и воздушных мешках.
В Красную книгу России включены 65 видов млекопитающих и 122 вида птиц. Объясните, какие антропогенные факторы привели к резкому сокращению их численности в настоящее время.
Элементы ответа:
1) Загрязнение всех сред жизни, изменение климата.
2) Вспашка почвы, мелиорация.
3) Добыча полезных ископаемых.
4) Интенсивное строительство (освоение новых территорий), повышение уровня шума.
5) Охота и др.
Какие крупные изменения позволили древним земноводным освоить сушу?
Элементы ответа:
1) появление легочного дыхания
2) формирование расчлененных конечностей
3) появление трехкамерного сердца и двух кругов кровообращения
Для сохранения и увеличения рыбных запасов установлены определенные правила рыболовства. Объясните, почему при ловле рыбы нельзя использовать мелкоячеистые сети и такие приемы лова, как травление или глушение рыбы взрывчатыми веществами.
Элементы ответа:
1) при использовании мелкоячеистых сетей вылавливается много неподросшей рыбы, которая могла бы дать большое потомство;
2) травление или глушение взрывчатыми веществами - хищнические способы лова, при которых много рыбы гибнет бесполезно.
1)3- основным хозяином печеночного сосальщика является крупный рогатый скот, а промежуточным - малый прудовик;
2) 4 - основным хозяином бычьего цепня является человек;
3) 5 - взрослый червь размножается в организме крупного рогатого скота.
Найдите ошибки в приведенном тексте. Укажите номера предложений, в которых сделаны ошибки, объясните их.
Плоские черви - это трехслойные животные. 2. К типу Плоские черви относят белую планарию, человеческую аскариду и печеночного сосальщика. 3. Плоские черви имеют вытянутое уплощенное тело. 4. У ленточных червей хорошо развита пищеварительная система. 5. Плоские черви - раздельнополые животные, откладывают яйца.
1) 2 - к типу Плоские черви не относят человеческую аскариду. Это круглый червь;
2) 4 - у ленточных червей пищеварительная система отсутствует;
3) 5 - Плоские черви - гермафродиты.
В чем проявляется приспособленность птиц к сезонным изменениям в природе средней полосы России?
Элементы ответа:
1) линька, развитие густого перьевого покрова;
2) запасание жира;
3) запасание и смена кормов;
4) кочевки и перелеты.
Какие особенности строения сформировались у хордовых животных в процессе эволюции?
Элементы ответа:
1) внутренний осевой скелет;
2) нервная система в виде трубки на спинной стороне тела;
3) щели в пищеварительной трубке.
Найдите ошибки в приведенном тексте. Укажите номера предложений, в которых сделаны ошибки, объясните их.
1.Кольчатые черви - это наиболее высокоорганизованные
животные среди других типов червей.
2.Кольчатые черви имеют незамкнутую кровеносную систему.
3.Тело кольчатого червя состоит из отдельных сегментов.
4.Полость тела у кольчатых червей отсутствует.
5.Нервная система кольчатых червей представлена окологлоточным кольцом и спинной нервной цепочкой.
Элементы ответа: Ошибки допущены в предложениях:
1)2- Кольчатые черви имеют замкнутую кровеносную систему;
2) 4 - Кольчатые черви имеют полость тела;
3) 5 - Нервная цепочка расположена на брюшной стороне тела.
Найдите ошибки в приведенном тексте. Укажите номера предложений, в которых сделаны ошибки, объясните их.
1.Основные классы типа членистоногих - Ракообразные, Паукообразные и Насекомые.
2.Насекомые имеют четыре пары ног, а паукообразные – три пары.
3.Речной рак имеет простые глаза, а паук-крестовик - сложные.
4.У паукообразных на брюшке расположены паутинные бородавки.
5.Паук-крестовик и майский жук дышат с помощью легочных мешков и трахей.
Элементы ответа: Ошибки допущены в предложениях:
1)2- Насекомые имеют три пары ног, а паукообразные - четыре пары;
2) 3 - речной рак имеет сложные глаза, а паук-крестовик - простые;
Объясните, чем питаются беззубки и перловицы и почему их называют "придонными фильтрами".
Элементы ответа:
1) беззубки и перловицы питаются органическими частицами, которые с током воды попадают в мантийную полость и отфильтровываются ресничками,
2) пропуская через себя большое количество воды, они очищают ее от органических взвесей и микроорганизмов.
Что называют положительным хемотаксисом?
Движение живого организма в сторону увеличения концентрации какого-либо химического вещества.
Какие организмы относят к радиально-симметричным (лучистым)?
Организмы, через тело которых можно провести несколько плоскостей симметрии (кишечнополостные, иглокожие).
Элементы ответа:
1) очистка питьевой воды;
2) санитарный контроль на бойнях;
3) правильное приготовление пищи;
4) соблюдение правил личной гигиены.
Какие среды обитания освоили млекопитающие?
Элементы ответа:
1) наземно-воздушную;
2) водную;
3) почвенную.
Какие крупные изменения в эволюционном развитии привели к возникновению типа Членистоногие?
Элементы ответа:
1) возникновение наружного скелета;
2) возникновение членистых конечностей;
3) возникновение поперечно-полосатой мускулатуры.
Назовите крупные изменения,которыми сопровождалась эволюция пресмыкающихся при освоении ими суши
Элементы ответа:
1) переход только на легочное дыхание;
2) появление сухой ороговевшей кожи без желез;
3) внутреннее оплодотворение, возникновение зародышевых и яйцевых оболочек
Назовите изменения в организации млекопитающих по сравнению с пресмыкающимися, позволившие обеспечить клетки их тела большим количеством кислорода.
Элементы ответа:
1)появление легочных пузырьков (альвеол) увеличило площадь газообмена и поглощения кислорода;
2)появление четырехкамерного сердца обеспечило отделение артериальной крови от венозной, что привело к поступлению большего количества кислорода к клеткам тела.
Элементы ответа:
1) предки земноводных жили в пресных водоемах, а латимерия приспособлена к жизни в глубинах океана;
2) предки земноводных дышали атмосферным кислородом с помощью легких, а у латимерии лёгкие отсутствуют;
3) предки земноводных могли передвигаться по дну водоёма с помощью парных плавников, латимерии с помощью парных плавников могут только плавать в воде.
B чём проявляется усложнение строения кровеносной системы у земноводных по сравнению с рыбами?
Элементы ответа:
1) сердце становится трёхкамерным;
2) формируются два круга кровообращения;
3) по малому кругу кровь из желудочка направляется в лёгкие, насыщается кислородом и поступает в левое предсердие, а по большому кругу кровь из желудочка направляется к органам тела, а оттуда в правое предсердие.
Какое значение в жизни растений имеет выставление пчеловодами ульев на поля гречихи?
Пчёлы питаются пыльцой и нектаром гречихи, осуществляют перекрёстное опыление, что повышает урожайность растений.
Объясните изменения, произошедшие в строении конечности и способе передвижения лошади в процессе эволюции. Какие условия среды обитания предков лошадей это обусловили?
Элементы ответа:
1) количество пальцев уменьшилось от многопалости до одного;
2) основным способом передвижения стал быстрый бег;
3) предки лошади перешли от жизни среди густой растительности к жизни в открытых пространствах.
Почему с наступлением жаркого и сухого периода в пустыне черепахи впадают в спячку и в таком состоянии переносят неблагоприятные условия?
Элементы ответа:
1) в это время животные испытывают недостаток влаги и пищи;
2) в состоянии покоя обмен веществ замедляется, следовательно резко сокращается потребность в пище и воде.
Какое значение имело формирование четырехкамерного сердца в процессе эволюции позвоночных животных?
У наиболее просто устроенных позвоночных - рыб - сердце двухкамерное. Оно состоит из предсердия и желудочка. Выход позвоночных из воды на сушу ознаменовался появлением трехкамерного сердца, в котором два предсердия и один желудочек. Из желудочка кровь поступает в большой и малый (легочный) круги кровообращения, которые заканчиваются в предсердиях. В левое предсердие из легких поступает артериальная кровь, насыщенная кислородом. В правое предсердие поступает кровь от всех остальных органов тела; она венозная, в ней мало кислорода. Затем из предсердий кровь переходит в желудочек, где она смешивается. Следовательно, к органам тела животного по большому кругу кровообращения пойдет смешанная кровь, в которой кислорода значительно меньше, чем в артериальной.
Появление у птиц и млекопитающих второго желудочка, т. е. четырехкамерного сердца, дало возможность разделить сердце на две половины - правую и левую. В правой находится только венозная кровь, в левой артериальная. От левого желудочка ко всем органам, кроме легких, течет артериальная кровь. Благодаря лучшему снабжению кислородом, в клетках этих органов активизируются обменные процессы. В результате выделяется большое количество энергии, появляется возможность поддерживать высокую постоянную температуру тела.
Краткий ответ можно сформулировать так: «Появление четырехкамерного сердца дало возможность снабжать органы тела животного богатой кислородом артериальной кровью. Это привело к повышению уровня обмена веществ и теплокровности».
Почему дельфинов относят к млекопитающим, а не к рыбам?
Дельфины живут в воде и имеют рыбообразную форму тела. Однако их относят к млекопитающим, поскольку они имеют характерные особенности данного класса. Они теплокровны, у них имеется диафрагма, разделяющая грудную и брюшную полости. Дельфины рождают детенышей и вскармливают их молоком. В отличие от рыб дельфины дышат легкими, а не жабрами, у них четырехкамерное сердце, два круга кровообращения и хорошо развитый головной мозг
Ленточные черви часто ведут одиночное существование внутри организма хозяина. В этих условиях самооплодотворение обеспечивает размножение особей.
Весной в средней полосе России насекомоядные птицы прилетают значительно позже растительноядных. Чем это можно объяснить?
Насекомоядные птицы не могут рано весной обеспечить себя и своё потомство кормом из-за отсутствия в это время насекомых.
На каких стадиях развития колорадский жук при носит вред растениям?
Имея грызущий ротовой аппарат, и личинка, и взрослое насекомое колорадского жука потребляют в пищу надземные части (в основном листья) одинаковых растений (чаще пасленовых), чем наносят им большой вред.
Ответ: На стадиях личинки и имаго (взрослого насекомого).
Почему большинство рыб и млекопитающих, обитающих в водной среде, имеют обтекаемую форму тела?
1) Водная среда более плотная, чем воздушная.
2) При движении возникает трение.
3) Обтекаемая форма уменьшает сопротивление потоку воды.
Для ответа на этот и похожий вопросы нужно точно знать определение ароморфоза и понимать биологический смысл этого явления.
Элементы правильного ответа
1. Хорда (и впоследствии позвоночник) – это основа внутреннего скелета животных.
2. Возникновение внутреннего скелета позволило создать новый тип опоры тела и новый способ прикрепления мышц.
3. Появление внутреннего скелета обеспечило хордовым увеличение размеров тела, высокую дифференциацию его отделов и, прежде всего, опорно-двигательной системы.
4. В результате указанных изменений хордовые оказались на значительно более высоком уровне организации, чем беспозвоночные животные. Поэтому их появление можно считать результатом ароморфоза.
Ответьте самостоятельно
Каким образом развитие нервной системы хордовых повлияло на их строение и поведение?
В чем заключается усложнение строения кровеносной системы позвоночных животных?
Элементы правильного ответа
1. Многие виды рыб по пути к местам нереста не питаются и истощаются.
2. Икрометание требует больших затрат энергии.
3. Истощенные, обессиленные самки (например, кеты) погибают.
4. Некоторые виды рыб нерестятся вообще один раз в жизни.
Ответьте самостоятельно
Приведите примеры существования заботы о потомстве у рыб.
Почему некоторые рыбы откладывают до нескольких миллионов икринок?
Элементы правильного ответа
1. Суставы появились у земноводных.
2. Сустав – это система рычагов, позволяющая активно передвигаться как в воде, так и по суше.
Ответьте самостоятельно
Какие приспособления к жизни на суше появились у земноводных?
Какие преимущества дает земноводным развитие потомства с превращением?
Элементы правильного ответа
1. У рыб двухкамерное сердце и один круг кровообращения.
2. У земноводных трехкамерное сердце и два круга кровообращения.
3. В сердце земноводных частично смешанная кровь, а в сердце рыб венозная кровь.
4. Второй (легочный) круг кровообращения вместе с развитием легких обеспечил земноводным возможность жизни на суше.
Ответьте самостоятельно
Сравните строение скелета рыб и земноводных и сделайте выводы из этого сравнения.
Каковы особенности дыхания земноводных по сравнению с рыбами?
Как происходит размножение и развитие земноводных?
Элементы правильного ответа
1. Формирование ячеистых легких с большой рабочей поверхностью.
2. Образование диафрагмы, разделяющей грудную и брюшную полости.
Ответьте самостоятельно
Какие эволюционные изменения в скелете пресмыкающихся помогли им завоевать сушу?
Какие эволюционные изменения позволили пресмыкающимся размножаться на суше?
Элементы правильного ответа
1. Сердце разделено частичной перегородкой, что способствует большему разделению крови.
2. От левой части желудочка артериальная кровь идет к мозгу, и он лучше снабжается кислородом.
3. Хорошее снабжение мозга кислородом необходимо для повышения скорости реакций, что очень существенно для жизни на суше.
Элементы правильного ответа
1. Развитие коры головного мозга и значительное, по сравнению с рептилиями, увеличение больших полушарий.
2. Развитие мозжечка обусловило хорошую координацию в пространстве.
Ответьте самостоятельно
Чем объясняется тот факт, что у птиц не встречаются виды с недоразвитыми глазами?
У большинства птиц обоняние развито слабо, а вот у грифов и киви хорошо. С чем это связано?
Элементы правильного ответа
1. Полное разделение кругов кровообращения позволило разделить кровь на венозную и артериальную. Это привело к повышению интенсивности обмена веществ и теплокровности.
2. Возникновение теплокровности обеспечило приспособленность животных к самым разнообразным климатическим условиям среды, позволило занять разные среды обитания.
Ответьте самостоятельно
Каковы преимущества четырехкамерного сердца перед трехкамерным?
Каковы преимущества теплокровности перед холоднокровностью?
Элементы правильного ответа
1. У млекопитающих сформировалась кора головного мозга из тел нейронов – серого вещества мозга.
2. Млекопитающие – живородящие животные, вскармливающие своих детенышей грудным молоком.
3. У млекопитающих появился кожный волосяной покров с его производными.
Ответьте самостоятельно
Какие особенности строения кожного покрова млекопитающих обеспечивают его функции?
У какого из двух животных зависимость температуры тела от температуры окружающей среды выше: у обыкновенной полевки или собаки? Ответ обоснуйте.
| 21. Докажите, что утконос и ехидна по уровню организации ниже, чем настоящие звери. |
Элементы правильного ответа
1. Утконос – яйцекладущее млекопитающее животное, у которого терморегуляционные функции развиты хуже, чем у настоящих зверей. Есть роговой клюв и клоака.
2. Ехидна – яйцекладущее сумчатое животное, у которого терморегуляционные функции развиты хуже, чем у настоящих зверей. Есть роговой клюв и клоака.
3. Нервная система более примитивна, чем у настоящих зверей.
Ответьте самостоятельно
Почему кенгуру относят к настоящим зверям, а ехидну к первозверям?
Докажите, что первозвери – это млекопитающие животные.
Вопросы уровня С2
Умение работать с текстом и рисунком
Элементы правильного ответа
В предложении 1: Кольчатые черви – это тип животных.
В предложении 2: Малощетинковые черви – класс животных.
В предложении 4: кровеносная система у кольчатых червей замкнутая.
В этом и в ряде следующих заданий элементы правильного ответа будут только подсказываться, но не даваться полностью. Ваша задача – объяснить допущенные ошибки самостоятельно.
Элементы правильного ответа
Ошибки допущены в предложениях 2, 3, 6.
В предложении 2 ошибочно назван элемент строения моллюска.
В предложении 3 неверно указан один из представителей двустворчатых.
В предложении 6 допущена ошибка в описании дыхания моллюска.
Элементы правильного ответа
Ошибки допущены в предложениях 2, 3, 4.
В предложении 2 неверно указано количество слоев тела.
В предложении 3 неверно указан тип симметрии тела.
В предложении 4 неверно указан тип нервной системы.
Элементы правильного ответа
Ошибки допущены в предложениях 1, 2, 4.
В предложении 1 неверно указано направление эволюционного процесса.
В предложении 2 неверно указана полость тела, возникшая у кольчатых червей.
В предложении 4 неверно указан тип кровеносной системы.
5. Найдите ошибки в приведенном тексте. Укажите номера предложений, в которых они допущены, объясните их. 1. К членистоногим животным относятся водные формы, обладающие членистыми конечностями и сегментированным телом. 2. Появление членистых конечностей обеспечило высокую двигательную активность членистоногих. 3. Появление внутреннего скелета способствовало прикреплению мышц. 4. Пищеварительная система получила дальнейшее прогрессивное развитие – появились печень и слюнные железы. 5. Общими признаками всех членистоногих являются: сегментированное тело, замкнутая кровеносная система, членистые конечности. 6. Тип насчитывает три класса: Ракообразные, Паукообразные и Насекомые (многоножки в школе не изучаются). |
Элементы правильного ответа
Ошибки допущены в предложениях 1, 3, 5.
В предложении 1 неверно указана среда обитания членистоногих.
В предложении 3 неверно указан тип скелета членистоногих.
В предложении 5 неверно указан тип кровеносной системы.
Задания в рисунках
Отвечая на вопросы к рисункам, нужно извлекать максимум информации из представленного изображения.
Элементы правильного ответа
1. Нужно назвать изображенных животных.
2. В качестве сходства нужно указать подцарство, к которому принадлежат эти животные, среду обитания, особенности строения.
3. В качестве различий между изображенными животными нужно указать разное систематическое положение (класс и тип, способы питания, которыми они отличаются, и основные различия в строении).

Элементы правильного ответа
1. Нужно назвать тип животных, к которым принадлежат организмы с показанным строением тела (Кишечнополостные).
2. Нужно указать количество слоев тела и назвать их (два слоя – эктодерма и энтодерма).
3. Нужно назвать основные представленные на рисунке клетки и указать их положение (кожно-мускульные, нервные, стрекательные, пищеварительно-мускульные, железистые и половые клетки).
Отвечая на вопрос, вы можете обозначить цифрами каждую из названных структур.
Элементы правильного ответа
1. На рисунках показаны нервные системы плоских червей (планарии) и кишечнополостных (гидры).
2. У плоских червей от головного нервного узла отходят два нервных ствола, соединенные нервами.
3. У гидры диффузная нервная система.

Элементы правильного ответа
1. Личинки попадают в воду, где их проглатывают циклопы.
2. Человек может заразиться, если выпьет сырой воды, содержащей зараженных циклопов.
3. Меры борьбы – очистка водоема, фильтрация и кипячение воды, прокладка водопроводов.
(Могут быть предложены и такие методы борьбы с риштой, как уничтожение больных собак, учет заболевших и их лечение, запуск в водоемы рыб, питающихся циклопами).
Ответ на этот и подобные вопросы требует достаточно подробного объяснения рисунка.

Элементы правильного ответа
В данном случае следует указать:
1) тип развития насекомого;
2) названия стадий развития бабочки;
3) среды обитания этих стадий;
4) особенности жизнедеятельности стадий 2 и 4;
5) приспособления к выживанию на разных стадиях развития.
При ответах на подобные вопросы нужно внимательно рассмотреть рисунок и исключить одного из изображенных представителей, руководствуясь определенными основаниями. При ответе на этот вопрос могут быть два основания для классификации. Первое показано. Найдите второе.

Элементы правильного ответа
1. Лишний – кузнечик.
2. Кузнечик относится к насекомым, развивающимся с неполным превращением.
3. Остальные насекомые, показанные на рисунке, развиваются с полным превращением.

Элементы правильного ответа
1. Нервная трубка.
2. Хорда.
3. Пищеварительная трубка (кишка).
4. Ротовое отверстие.
5. Жаберные щели.
6. Анальное отверстие.
Головной мозг рыбы

Головной мозг лягушки

Элементы правильного ответа
1. Большие полушария головного мозга у земноводных развиты лучше, чем у рыб.
2. Мозжечок у земноводных развит хуже, чем у рыб.
3. Различия объясняются особенностями развития, поведения и средой обитания.
Отвечая на этот вопрос можно добавить, что у земноводных передний мозг разделен на две части, что малые размеры мозжечка связаны с тем, что движения земноводных однообразны и достаточно просты. Хорошо у земноводных, по сравнению с рыбами, развиты органы чувств: зрение, обоняние, слух.

Элементы правильного ответа
1. Нужно назвать отряды, к которым принадлежат изображенные животные.
2. Нужно перечислить приспособления пресмыкающихся к жизни на суше: особенности строения, жизнедеятельности и развития.
Отвечая на этот вопрос, нужно вспомнить об отряде клювоголовых (2). Остальные животные узнаются достаточно легко. Говоря о приспособлениях к жизни на суше, следует отметить особенности строения скелета, кровеносной и нервной систем органов, кожных покровов, строения яйца. В зависимости от уровня ваших знаний вы можете назвать еще ряд особенностей, удовлетворяющих условию вопроса. Например, можно сказать о дифференциации дыхательных путей, о легочном дыхании, о впервые появившейся коре головного мозга и т.д.
Вопросы уровня С3
Обобщение и применение знаний о многообразии организмов
При ответе на этот вопрос необходимо отметить черты строения названных клеток, особенности их функций и биологическое значение.
Элементы правильного ответа
1. Яйцеклетки и сперматозоиды – это половые клетки животных, или женские и мужские гаметы соответственно.
2. Гаметы имеют гаплоидный набор хромосом и несут наследственную информацию, полученную от одного из родителей.
3. Сперматозоид – подвижная мужская гамета, имеющая головку и хвостик.
4. Яйцеклетка – неподвижная женская гамета, содержащая запас питательных веществ для развития зародыша.
Ответьте самостоятельно
Каковы функции половых клеток животных?
Чем спора отличается от гаметы?
Элементы правильного ответа
Ответьте самостоятельно
Элементы правильного ответа
1. У кишечнополостных животных существует специализация клеток, но нет систем органов, кроме нервной.
2. Специализированные клетки по форме напоминают разных простейших – жгутиковых, амеб и др.
3. Развиваются из одной клетки бесполым или половым способом.
Элементы правильного ответа
1. Возникновение многоклеточности.
2. Возникновение двух зародышевых листков.
3. Дифференциация клеток.
4. Возникновение кишечной полости.
5. Появление диффузной нервной системы.
Ответьте самостоятельно
Опишите особенности пищеварения у гидры.
В чем заключается дифференциация и специализация клеток у кишечнополостных животных?
Дать характеристику типа животных – это значит назвать основные особенности строения и жизнедеятельности его представителей, отметить их значение в природе и жизни человека, назвать, если требуется, систематические группы, входящие в данный тип.
Элементы правильного ответа
1. Кишечнополостные – водные двуслойные животные с радиальной симметрией тела.
2. Все кишечнополостные имеют стрекательные клетки.
3. В типе насчитывается три класса: Гидроидные, Сцифоидные медузы и Коралловые полипы.
4. Кишечнополостные – хищники. Переваривание пищи происходит как в кишечной полости, так и внутри пищеварительно-мускульных клеток.
5. Размножение кишечнополостных происходит как бесполым, так и половым путем.