Определение прочности механическими методами неразрушающего контроля. Определение прочности бетона методом упругого отскока Методика привязки градуировочной зависимости
Введен в действие приказом Федерального агентства по техническому регулированию и метрологии от 25 сентября 2015 г. N 1378-ст
Межгосударственный стандарт ГОСТ 22690-2015
"БЕТОНЫ. ОПРЕДЕЛЕНИЕ ПРОЧНОСТИ МЕХАНИЧЕСКИМИ МЕТОДАМИ НЕРАЗРУШАЮЩЕГО КОНТРОЛЯ"
Concretes. Determination of strength by mechanical methods of nondestructive testing
Взамен ГОСТ 22690-88
Предисловие
Цели, основные принципы и основной порядок проведения работ по межгосударственной стандартизации установлены ГОСТ 1.0-92 "Межгосударственная система стандартизации. Основные положения" и ГОСТ 1.2-2009 "Межгосударственная система стандартизации. Стандарты межгосударственные, правила и рекомендации по межгосударственной стандартизации. Правила разработки, принятия, применения, обновления и отмены"
Сведения о стандарте
1 Разработан Структурным подразделением АО "НИЦ "Строительство" Научно-исследовательским, проектно-конструкторским и технологическим институтом бетона и железобетона им. А.А. Гвоздева (НИИЖБ)
2 Внесен Техническим комитетом по стандартизации ТК 465 "Строительство"
3 Принят Межгосударственным советом по стандартизации, метрологии и сертификации (протокол от 18 июня 2015 г. N 47)
|
Краткое наименование страны по МК (ИСО 3166) 004-97 |
Код страны по МК (ИСО 3166) 004-97 |
Сокращенное наименование национального органа по стандартизации |
|
Минэкономики Республики Армения |
||
|
Беларусь |
Госстандарт Республики Беларусь |
|
|
Казахстан |
Госстандарт Республики Казахстан |
|
|
Киргизия |
Кыргызстандарт |
|
|
Молдова-Стандарт |
||
|
Росстандарт |
||
|
Таджикистан |
Таджикстандарт |
4 Приказом Федерального агентства по техническому регулированию и метрологии от 25 сентября 2015 г. N 1378-ст межгосударственный стандарт ГОСТ 22690-2015 введен в действие в качестве национального стандарта Российской Федерации с 1 апреля 2016 г.
5 В настоящем стандарте учтены основные нормативные положения в части требований к механическим методам неразрушающего контроля прочности бетона следующих европейских региональных стандартов:
EN 12504-2:2001 Testing concrete in structures - Part 2: Non-destructive testing - Determination of rebound number (Испытание бетона в конструкциях. Часть 2. Неразрушающий контроль. Определение критерия отскока);
EN 12504-3:2005 Testing concrete in structures - Determination of pull-out force (Испытание бетона в конструкциях. Часть 3. Определение усилия отрыва).
Степень соответствия - неэквивалентная (NEQ)
6 Взамен ГОСТ 22690-88
1 Область применения
Настоящий стандарт распространяется на конструкционные тяжелые, мелкозернистые, легкие и напрягающие бетоны монолитных, сборных и сборно-монолитных бетонных и железобетонных изделий, конструкций и сооружений (далее - конструкции) и устанавливает механические методы определения прочности на сжатие бетонов в конструкциях по упругому отскоку, ударному импульсу, пластической деформации, отрыву, скалыванию ребра и отрыву со скалыванием.
2 Нормативные ссылки
В настоящем стандарте использованы нормативные ссылки на следующие межгосударственные стандарты:
ГОСТ 166-89 (ИСО 3599-76) Штангенциркули. Технические условия
ГОСТ 577-68 Индикаторы часового типа с ценой деления 0, 01 мм. Технические условия
ГОСТ 2789-73 Шероховатость поверхности. Параметры и характеристики
ГОСТ 10180-2012 Бетоны. Методы определения прочности по контрольным образцам
ГОСТ 18105-2010 Бетоны. Правила контроля и оценки прочности
ГОСТ 28243-96 Пирометры. Общие технические требования
ГОСТ 28570-90 Бетоны. Методы определения прочности по образцам, отобранным из конструкций
ГОСТ 31914-2012 Бетоны высокопрочные тяжелые и мелкозернистые для монолитных конструкций. Правила контроля и оценки качества
Примечание - При пользовании настоящим стандартом целесообразно проверить действие ссылочных стандартов в информационной системе общего пользования - на официальном сайте Федерального агентства по техническому регулированию и метрологии в сети Интернет или по ежегодному информационному указателю "Национальные стандарты", который опубликован по состоянию на 1 января текущего года, и по выпускам ежемесячного информационного указателя "Национальные стандарты" за текущий год. Если ссылочный стандарт заменен (изменен), то при пользовании настоящим стандартом следует руководствоваться заменяющим (измененным) стандартом. Если ссылочный стандарт отменен без замены, то положение, в котором дана ссылка на него, применяется в части, не затрагивающей эту ссылку.
3 Термины и определения
В настоящем стандарте применены термины по ГОСТ 18105, а также следующие термины с соответствующими определениями;
3.2 неразрушающие механические методы определения прочности бетона: Определение прочности бетона непосредственно в конструкции при локальном механическом воздействии на бетон (удар, отрыв, скол, вдавливание, отрыв со скалыванием, упругий отскок).
3.3 косвенные неразрушающие методы определения прочности бетона: Определение прочности бетона по предварительно установленным градуировочным зависимостям.
3.4 прямые (стандартные) неразрушающие методы определения прочности бетона: Методы, предусматривающие стандартные схемы испытаний (отрыв со скалыванием и скалывание ребра) и допускающие применение известных градуировочных зависимостей без привязки и корректировки.
3.5 градуировочная зависимость: Графическая или аналитическая зависимость между косвенной характеристикой прочности и прочностью бетона на сжатие, определенной одним из разрушающих или прямых неразрушающих методов.
3.6 косвенные характеристики прочности (косвенный показатель): Величина прикладываемого усилия при местном разрушении бетона, величина отскока, энергия удара, размер отпечатка или другое показание прибора при измерении прочности бетона неразрушающими механическими методами.
4 Общие положения
4.1 Неразрушающие механические методы применяют для определения прочности бетона на сжатие в установленном проектной документацией промежуточном и проектном возрасте и в возрасте, превышающем проектный, при обследовании конструкций.
4.2 Неразрушающие механические методы определения прочности бетона, установленные настоящим стандартом, подразделяют по виду механического воздействия или определяемой косвенной характеристики на метод:
Упругого отскока;
Пластической деформации;
Ударного импульса;
Отрыва со скалыванием;
Скалывания ребра.
4.3 Неразрушающие механические методы определения прочности бетона основаны на связи прочности бетона с косвенными характеристиками прочности:
Метод упругого отскока на связи прочности бетона со значением отскока бойка от поверхности бетона (или прижатого к ней ударника);
Метод пластической деформации на связи прочности бетона с размерами отпечатка на бетоне конструкции (диаметра, глубины и т.п.) или соотношения диаметра отпечатка на бетоне и стандартном металлическом образце при ударе индентора или вдавливании индентора в поверхность бетона;
Метод ударного импульса на связи прочности бетона с энергией удара и ее изменениями в момент соударения бойка с поверхностью бетона;
Метод отрыва на связи напряжения, необходимого для местного разрушения бетона при отрыве приклеенного к нему металлического диска, равного усилию отрыва, деленному на площадь проекции поверхности отрыва бетона на плоскость диска;
Метод отрыва со скалыванием на связи прочности бетона со значением усилия местного разрушения бетона при вырыве из него анкерного устройства;
Метод скалывания ребра на связи прочности бетона со значением усилия, необходимого для скалывания участка бетона на ребре конструкции.
4.4 В общем случае неразрушающие механические методы определения прочности бетона являются косвенными неразрушающими методами определения прочности. Прочность бетона в конструкциях определяют по экспериментально установленным градуировочным зависимостям.
4.5 Метод отрыва со скалыванием при проведении испытаний в соответствии со стандартной схемой по приложению А и метод скалывания ребра при проведении испытаний в соответствии со стандартной схемой по приложению Б являются прямыми неразрушающими методами определения прочности бетона. Для прямых неразрушающих методов допускается использовать градуировочные зависимости, установленные в приложениях В и Г.
Примечание - Стандартные схемы испытаний применимы в ограниченном диапазоне прочности бетона (см. приложения А и Б). Для случаев, не относящихся к стандартным схемам испытаний, следует устанавливать градуировочные зависимости по общим правилам.
4.6 Метод испытания следует выбирать с учетом данных, приведенных в таблице 1, и дополнительных ограничений, установленных производителями конкретных средств измерений. Применение методов за пределами рекомендуемых в таблице 1 диапазонов прочности бетона допускается при научно-техническом обосновании по результатам исследований с использованием средств измерений, прошедших метрологическую аттестацию для расширенного диапазона прочности бетона.
Таблица 1
4.7 Определение прочности тяжелых бетонов проектных классов В60 и выше или при средней прочности бетона на сжатие R m ≥70 МПа в монолитных конструкциях необходимо проводить с учетом положений ГОСТ 31914.
4.8 Прочность бетона определяют на участках конструкций, не имеющих видимых повреждений (отслоение защитного слоя, трещины, каверны и т.п.).
4.9 Возраст бетона контролируемых конструкций и ее участков не должен отличаться от возраста бетона конструкций (участков, образцов), испытанных для установления градуировочной зависимости, более чем на 25%. Исключениями являются контроль прочности и построение градуировочной зависимости для бетона, возраст которого превышает два месяца. В этом случае различие в возрасте отдельных конструкций (участков, образцов) не регламентируется.
4.10 Испытания проводят при положительной температуре бетона. Допускается проводить испытания при отрицательной температуре бетона, но не ниже минус 10°С, при установлении или привязке градуировочной зависимости с учетом требований 6.2.4. Температура бетона при испытаниях должна соответствовать температуре, предусмотренной условиями эксплуатации приборов.
Градуировочные зависимости, установленные при температуре бетона ниже 0°С, не допускается применять при положительных температурах.
4.11 При необходимости проведения испытаний бетона конструкций после тепловой обработки при температуре поверхности Т≥40°С (для контроля отпускной, передаточной и распалубочной прочности бетона) градуировочную зависимость устанавливают после определения прочности бетона в конструкции косвенным неразрушающим методом при температуре t = (T±10)°С, а испытания бетона прямым неразрушающим методом или испытания образцов - после остывания при нормальной температуре.
5 Средства измерений, аппаратура и инструмент
5.1 Средства измерений и приборы для механических испытаний, предназначенные для определения прочности бетона, должны быть аттестованы и поверены в установленном порядке и должны соответствовать требованиям по приложению Д.
5.2 Показания приборов, градуированных в единицах прочности бетона, следует рассматривать как косвенный показатель прочности бетона. Указанные приборы следует использовать только после установления градуировочной зависимости "показание прибора - прочность бетона" или привязки зависимости, установленной в приборе в соответствии с 6.1.9.
5.3 Инструмент для измерения диаметра отпечатков (штангенциркуль по ГОСТ 166), используемый для метода пластических деформаций, должен обеспечивать измерение с погрешностью не более 0, 1 мм, инструмент для измерения глубины отпечатка (индикатор часового типа по ГОСТ 577 и др.) - с погрешностью не более 0, 01 мм.
5.4 Стандартные схемы проведения испытаний методом отрыва со скалыванием и скола ребра предусматривают применение анкерных устройств и захватов в соответствии с приложениями А и Б.
5.5 Для метода отрыва со скалыванием следует применять анкерные устройства, глубина заделки которых должна быть не менее максимального размера крупного заполнителя бетона испытуемой конструкции.
5.6 Для метода отрыва следует использовать стальные диски диаметром не менее 40 мм, толщиной не менее 6 мм и не менее 0, 1 диаметра, с параметрами шероховатости приклеиваемой поверхности не менее Ra = 20 мкм по ГОСТ 2789. Клей для приклейки диска должен обеспечивать прочность сцепления с бетоном, при которой разрушение происходит по бетону.
6 Подготовка к испытаниям
6.1 Порядок подготовки к проведению испытаний
6.1.1 Подготовка к испытаниям включает в себя проверку используемых приборов в соответствии с инструкциями по их эксплуатации и установление градуировочных зависимостей между прочностью бетона и косвенной характеристикой прочности.
6.1.2 Градуировочную зависимость устанавливают на основании следующих данных:
Результатов параллельных испытаний одних и тех же участков конструкций одним из косвенных методов и прямым неразрушающим методом определения прочности бетона;
Результатов испытаний участков конструкций одним из косвенных неразрушающих методов определения прочности бетона и испытаний образцов-кернов, отобранных из тех же участков конструкции и испытанных в соответствии с ГОСТ 28570;
Результатов испытаний стандартных бетонных образцов одним из косвенных неразрушающих методов определения прочности бетона и механических испытаний по ГОСТ 10180.
6.1.3 Для косвенных неразрушающих методов определения прочности бетона градуировочную зависимость устанавливают для каждого вида нормируемой прочности, указанной в 4.1 для бетонов одного номинального состава.
Допускается строить одну градуировочную зависимость для бетонов одного вида с одним типом крупного заполнителя, с единой технологией производства, отличающихся по номинальному составу и значению нормируемой прочности при соблюдении требований 6.1.7
6.1.4 Допустимое отличие возраста бетона отдельных конструкций (участков, образцов) при установлении градуировочной зависимости от возраста бетона контролируемой конструкции принимают по 4.9.
6.1.5 Для прямых неразрушающих методов по 4.5 допускается использовать зависимости, приведенные в приложениях В и Г для всех видов нормируемой прочности бетона.
6.1.6 Градуировочная зависимость должна иметь среднеквадратическое (остаточное) отклонение S T . H . M , не превышающее 15% среднего значения прочности бетона участков или образцов, использованных при построении зависимости, и коэффициент (индекс) корреляции не менее 0, 7.
Рекомендуется использовать линейную зависимость вида R = а + b K (где R - прочность бетона, K - косвенный показатель). Методика установления, оценки параметров и определения условий применения линейной градуировочной зависимости приведена в приложении Е.
6.1.7 При построении градуировочной зависимости отклонения единичных значений прочности бетона R i ф от среднего значения прочности бетона участков или образцов R̅ ф, использованных для построения градуировочной зависимости, должны быть в пределах:
От 0, 5 до 1, 5 среднего значения прочности бетона R̅ ф при R̅ ф ≤ 20 МПа;
От 0, 6 до 1, 4 среднего значения прочности бетона R̅ ф при 20 МПа < R̅ ф ≤ 50 МПа;
От 0, 7 до 1, 3 среднего значения прочности бетона R̅ ф при 50 МПа < R̅ ф ≤ 80 МПа;
От 0, 8 до 1, 2 среднего значения прочности бетона R̅ ф при R̅ ф > 80 МПа.
6.1.8 Корректировка установленной зависимости для бетонов в промежуточном и проектном возрасте должна проводиться не реже одного раза в месяц с учетом дополнительно полученных результатов испытаний. Число образцов или участков дополнительных испытаний при проведении корректировки должно быть не менее трех. Методика корректировки приведена в приложении Е.
6.1.9 Допускается применять косвенные неразрушающие методы определения прочности бетона, используя градуировочные зависимости, установленные для бетона, отличающегося от испытуемого по составу, возрасту, условиям твердения, влажности, с привязкой в соответствии с методикой по приложению Ж.
6.1.10 Без привязки к конкретным условиям по приложению Ж градуировочные зависимости, установленные для бетона, отличающегося от испытуемого, допускается использовать только для получения ориентировочных значений прочности. Не допускается использовать ориентировочные значения прочности без привязки к конкретным условиям для оценки класса бетона по прочности.
6.2 Построение градуировочной зависимости по результатам испытаний прочности бетона в конструкциях
6.2.1 При построении градуировочной зависимости по результатам испытаний прочности бетона в конструкциях зависимость устанавливают по единичным значениям косвенного показателя и прочности бетона одних и тех же участков конструкций.
За единичное значение косвенного показателя принимают среднее значение косвенного показателя в участке. За единичное значение прочности бетона принимают прочность бетона участка, определенную прямым неразрушающим методом или испытанием отобранных образцов.
6.2.2 Минимальное число единичных значений для построения градуировочной зависимости по результатам испытаний прочности бетона в конструкциях - 12.
6.2.3 При построении градуировочной зависимости по результатам испытаний прочности бетона в конструкциях не подлежащих испытанию конструкциях или их зонах предварительно проводят измерения косвенным неразрушающим методом согласно требованиям раздела 7.
Затем выбирают участки в количестве, предусмотренном 6.2.2, на которых получены максимальное, минимальное и промежуточные значения косвенного показателя.
После испытания косвенным неразрушающим методом участки испытывают прямым неразрушающим методом или отбирают образцы для испытания по ГОСТ 28570.
6.2.4 Для определения прочности при отрицательной температуре бетона участки, выбранные для построения или привязки градуировочной зависимости, сначала испытывают косвенным неразрушающим методом, а затем отбирают образцы для последующего испытания при положительной температуре или отогревают внешними источниками тепла (инфракрасные излучатели, тепловые пушки и др.) на глубину 50 мм до температуры не ниже 0°С и испытывают прямым неразрушающим методом. Контроль температуры отогреваемого бетона проводят на глубине установки анкерного устройства в подготовленном отверстии или по поверхности скола бесконтактным способом с помощью пирометра по ГОСТ 28243.
Отбраковка результатов испытаний, используемых для построения градуировочной зависимости при отрицательной температуре, допускается только в том случае, если отклонения связаны с нарушением процедуры испытания. При этом отбраковываемый результат должен быть заменен результатами повторного испытания в той же зоне конструкции.
6.3 Построение градуировочной зависимости по контрольным образцам
6.3.1 При построении градуировочной зависимости по контрольным образцам зависимость устанавливают по единичным значениям косвенного показателя и прочности бетона стандартных образцов-кубов.
За единичное значение косвенного показателя принимают среднее значение косвенных показателей для серии образцов или для одного образца (если градуировочную зависимость устанавливают по отдельным образцам). За единичное значение прочности бетона принимают прочность бетона в серии по ГОСТ 10180 или одного образца (градуировочная зависимость по отдельным образцам). Механические испытания образцов по ГОСТ 10180 проводят непосредственно после испытаний косвенным неразрушающим методом.
6.3.2 При построении градуировочной зависимости по результатам испытаний образцов-кубов используют не менее 15 серий образцов-кубов по ГОСТ 10180 или не менее 30 отдельных образцов-кубов. Образцы изготовляют в соответствии с требованиями ГОСТ 10180 в разные смены, в течение не менее 3 сут из бетона одного номинального состава, по одной технологии, при том же режиме твердения, что и конструкция, подлежащая контролю.
Единичные значения прочности бетона образцов-кубов, используемых для построения градуировочной зависимости, должны соответствовать ожидаемым на производстве отклонениям, при этом быть в пределах диапазонов, установленных в 6.1.7.
6.3.3 Градуировочную зависимость для методов упругого отскока, ударного импульса, пластической деформации, отрыва и скалывания ребра устанавливают на основе результатов испытаний изготовленных образцов-кубов сначала неразрушающим методом, а затем разрушающим методом по ГОСТ 10180.
При установлении градуировочной зависимости для метода отрыва со скалыванием изготовляют основные и контрольные образцы по 6.3.4. На основных образцах определяют косвенную характеристику, контрольные образцы испытывают по ГОСТ 10180. Основные и контрольные образцы должны быть изготовлены из одного бетона и твердеть в одинаковых условиях.
6.3.4 Размеры образцов следует выбирать в соответствии с наибольшей крупностью заполнителя в бетонной смеси по ГОСТ 10180, но не менее:
100 х 100 х 100 мм для методов отскока, ударного импульса, пластической деформации, а также для метода отрыва со скалыванием (контрольные образцы);
200 х 200 х 200 мм для метода скалывания ребра конструкции;
300 х 300 х 300 мм, но с размером ребра не менее шести глубин установки анкерного устройства для метода отрыва со скалыванием (основные образцы).
6.3.5 Для определения косвенных характеристик прочности проводят испытания согласно требованиям раздела 7 на боковых (по направлению бетонирования) гранях образцов-кубов.
Общее число измерений на каждом образце для метода упругого отскока, ударного импульса, пластической деформации при ударе должно быть не менее установленного числа испытаний на участке по таблице 2, а расстояние между местами ударов - не менее 30 мм (15 мм для метода ударного импульса). Для метода пластической деформации при вдавливании число испытаний на каждой грани должно быть не менее двух, а расстояние между местами испытаний - не менее двух диаметров отпечатков.
При установлении градуировочной зависимости для метода скалывания ребра проводят по одному испытанию на каждом боковом ребре.
При установлении градуировочной зависимости для метода отрыва со скалыванием проводят по одному испытанию на каждой боковой грани основного образца.
6.3.6 При испытаниях методом упругого отскока, ударного импульса, пластической деформации при ударе образцы должны быть зажаты в прессе с усилием не менее (30±5) кН и не более 10% ожидаемого значения разрушающей нагрузки.
6.3.7 Образцы, испытанные методом отрыва, устанавливают на прессе так, чтобы к опорным плитам пресса не прилегали поверхности, на которых проводили вырыв. Результаты испытаний по ГОСТ 10180 увеличивают на 5%.
7 Проведение испытаний
7.1 Общие требования
7.1.1 Число и расположение контролируемых участков в конструкциях должны соответствовать требованиям ГОСТ 18105 и указываться в проектной документации на конструкции или устанавливаться с учетом:
Задач контроля (определение фактического класса бетона, распалубочной или отпускной прочности, выявление участков пониженной прочности и т.п.);
Вида конструкции (колонны, балки, плиты и др.);
Размещения захваток и порядка бетонирования;
Армирования конструкций.
Правила назначения числа участков испытаний монолитных и сборных конструкций при контроле прочности бетона приведены в приложении И. При определении прочности бетона обследуемых конструкций число и расположение участков должны приниматься по программе проведения обследования.
7.1.2 Испытания проводят на участке конструкции площадью от 100 до 900 см 2 .
7.1.3 Общее число измерений на каждом участке, расстояние между местами измерений на участке и от края конструкции, толщина конструкций на участке измерений должны быть не менее значений, приведенных в таблице 2 в зависимости от метода испытаний.
Таблица 2 - Требования к участкам испытаний
|
Наименование метода |
Общее число измерений на участке |
Минимальное расстояние между местами измерений на участке, мм |
Минимальное расстояние от края конструкции до места измерения, мм |
Минимальная толщина конструкции, мм |
|
Упругий отскок | ||||
|
Ударный импульс | ||||
|
Пластическая деформация | ||||
|
Скалывание ребра | ||||
|
2 диаметра диска | ||||
|
Отрыв со скалыванием при рабочей глубине заделки анкера h: ≥ 40 мм |
7.1.4 Отклонение отдельных результатов измерений на каждом участке от среднего арифметического значения результатов измерений для данного участка не должно превышать 10%. Результаты измерений, не удовлетворяющие указанному условию, не учитывают при вычислении среднего арифметического значения косвенного показателя для данного участка. Общее число измерений на каждом участке при вычислении среднего арифметического должно соответствовать требованиям таблицы 2.
7.1.5 Прочность бетона в контролируемом участке конструкции определяют по среднему значению косвенного показателя по градуировочной зависимости, установленной в соответствии с требованиями раздела 6, при условии, что вычисленное значение косвенного показателя находится в пределах установленной (или привязанной) зависимости (между наименьшим и наибольшим значениями прочности).
7.1.6 Шероховатость поверхности участка бетона конструкций при испытании методами отскока, ударного импульса, пластической деформации должна соответствовать шероховатости поверхности участков конструкции (или кубов), испытанных при установлении градуировочной зависимости. В необходимых случаях допускается зачищать поверхности конструкции.
При использовании метода пластической деформации при вдавливании, если нулевой отсчет снимают после приложения начальной нагрузки, требований к шероховатости поверхности бетона конструкции не предъявляют.
7.2 Метод упругого отскока
7.2.1 Испытания проводят в следующей последовательности:
Положение прибора при испытании конструкции относительно горизонтали рекомендуется принимать таким же, как и при установлении градуировочной зависимости. При другом положении прибора необходимо вносить поправку на показатели в соответствии с инструкцией по эксплуатации прибора;
7.3 Метод пластических деформаций
7.3.1 Испытания проводят в следующей последовательности:
Прибор располагают так, чтобы усилие прикладывалось перпендикулярно испытуемой поверхности в соответствии с инструкцией по эксплуатации прибора;
При применении сферического индентора для облегчения измерений диаметров отпечатков испытание допускается проводить через листы копировальной и белой бумаги (в этом случае испытания для установления градуировочной зависимости проводят с применением такой же бумаги);
Фиксируют значения косвенной характеристики в соответствии с инструкцией по эксплуатации прибора;
Вычисляют среднее значение косвенной характеристики на участке конструкции.
7.4 Метод ударного импульса
7.4.1 Испытания проводят в следующей последовательности:
Прибор располагают так, чтобы усилие прикладывалось перпендикулярно испытуемой поверхности в соответствии с инструкцией по эксплуатации прибора;
Положение прибора при испытании конструкции относительно горизонтали рекомендуется принимать таким же, как и при испытании при установлении градуировочной зависимости. При другом положении прибора необходимо вносить поправку на показания в соответствии с инструкцией по эксплуатации прибора;
Фиксируют значение косвенной характеристики в соответствии с инструкцией по эксплуатации прибора;
Вычисляют среднее значение косвенной характеристики на участке конструкции.
7.5 Метод отрыва
7.5.1 При испытании методом отрыва участки должны располагаться в зоне наименьших напряжений, вызываемых эксплуатационной нагрузкой или усилием обжатия предварительно напряженной арматуры.
7.5.2 Испытание проводят в следующей последовательности:
В месте приклейки диска снимают поверхностный слой бетона глубиной 0, 5 - 1 мм и очищают поверхность от пыли;
Диск приклеивают к бетону, прижимая диск и удаляя излишки клея за пределами диска;
Прибор соединяют с диском;
Нагрузку плавно увеличивают со скоростью (1±0, 3) кН/с;
Измеряют площадь проекции поверхности отрыва на плоскости диска с погрешностью ±0, 5 см 2 ;
Определяют значение условного напряжения в бетоне при отрыве как отношение максимального усилия отрыва к площади проекции поверхности отрыва.
7.5.3 Результаты испытаний не учитывают, если при отрыве бетона была обнажена арматура или площадь проекции поверхности отрыва составила менее 80% площади диска.
7.6 Метод отрыва со скалыванием
7.6.1 При испытании методом отрыва со скалыванием участки должны располагаться в зоне наименьших напряжений, вызываемых эксплуатационной нагрузкой или усилием обжатия предварительно напряженной арматуры.
7.6.2 Испытания проводят в следующей последовательности:
Если анкерное устройство не было установлено до бетонирования, то в бетоне выполняют отверстие, размер которого выбирают в соответствии с инструкцией по эксплуатации прибора в зависимости от типа анкерного устройства;
В отверстие закрепляют анкерное устройство на глубину, предусмотренную инструкцией по эксплуатации прибора, в зависимости от типа анкерного устройства;
Прибор соединяют с анкерным устройством;
Нагрузку увеличивают со скоростью 1, 5 - 3, 0 кН/с;
Фиксируют показание силоизмерителя прибора P 0 и величину проскальзывания анкера Δh (разность между фактической глубиной вырыва и глубиной заделки анкерного устройства) с точностью не менее 0, 1 мм.
7.6.3 Измеренное значение силы вырыва P 0 умножают на поправочный коэффициент γ, определяемый по формуле
где h - рабочая глубина заделки анкерного устройства, мм;
Δh - величина проскальзывания анкера, мм.
7.6.4 Если наибольший и наименьший размеры вырванной части бетона от анкерного устройства до границ разрушения по поверхности конструкции отличаются более чем в два раза, а также, если глубина вырыва отличается от глубины заделки анкерного устройства более чем на 5% (Δh > 0, 05h, γ > 1, 1), то результаты испытаний допускается учитывать только для ориентировочной оценки прочности бетона.
Примечание - Ориентировочные значения прочности бетона не допускается использовать для оценки класса бетона по прочности и построения градуировочных зависимостей.
7.6.5 Результаты испытания не учитывают, если глубина вырыва отличается от глубины заделки анкерного устройства более чем на 10% (Δh > 0, 1h) или была обнажена арматура на расстоянии отанкерного устройства, меньшем, чем глубина его заделки.
7.7 Метод скалывания ребра
7.7.1 При испытании методом скалывания ребра на участке испытания не должно быть трещин, околов бетона, наплывов или раковин высотой (глубиной) более 5 мм. Участки должны располагаться в зоне наименьших напряжений, вызываемых эксплуатационной нагрузкой или усилием обжатия предварительно напряженной арматуры.
7.7.2 Испытание проводят в следующей последовательности:
Прибор закрепляют на конструкции, прикладывают нагрузку со скоростью не более (1±0, 3) кН/с;
Фиксируют показание силоизмерителя прибора;
Измеряют фактическую глубину скалывания;
Определяют среднее значение усилия скалывания.
7.7.3 Результаты испытания не учитывают, если при скалывании бетона была обнажена арматура или фактическая глубина скалывания отличалась от заданной более чем на 2 мм.
8 Обработка и оформление результатов
8.1 Результаты испытаний представляют в таблице, в которой указывают:
Вид конструкции;
Проектный класс бетона;
Возраст бетона;
Прочность бетона каждого проконтролированного участка по 7.1.5;
Среднюю прочность бетона конструкции;
Зоны конструкции или ее части при соблюдении требований 7.1.1.
Форма таблицы представления результатов испытаний приведена в приложении К.
8.2 Обработку и оценку соответствия установленным требованиям значений фактической прочности бетона, полученных с применением приведенных в настоящем стандарте методов, проводят по ГОСТ 18105.
Примечание - Статистическую оценку класса бетона по результатам испытаний проводят по ГОСТ 18105 (схемы "А", "Б" или "В") в тех случаях, когда прочность бетона определяется по градуировочной зависимости, построенной в соответствии с разделом 6. При использовании ранее установленных зависимостей путем их привязки (по приложению Ж) статистический контроль не допускается, а оценку класса бетона проводят только по схеме "Г" ГОСТ 18105.
8.3 Результаты определения прочности бетона механическими методами неразрушающего контроля оформляют в заключении (протоколе), в котором приводят следующие данные:
Об испытанных конструкциях с указанием проектного класса, даты бетонирования и проведения испытаний или возраста бетона на момент проведения испытания;
О применяемых методах контроля прочности бетона;
О типах приборов с заводскими номерами, сведения о поверках приборов;
О принятых градуировочных зависимостях (уравнение зависимости, параметры зависимости, соблюдение условий применения градуировочной зависимости);
Используемые для построения градуировочной зависимости или ее привязки (дата проведения и результаты испытаний неразрушающими косвенными и прямыми или разрушающими методами, корректирующие коэффициенты);
О числе участков определения прочности бетона в конструкциях с указанием их расположения;
Результаты испытаний;
Методику, результаты обработки и оценки полученных данных.
Приложение А
(обязательное)
Стандартная схема испытания методом отрыва со скалыванием
А.1 Стандартная схема испытания методом отрыва со скалыванием предусматривает проведение испытаний при соблюдении требований А.2 - А.6.
А.2 Стандартная схема испытаний применима в следующих случаях:
Испытания тяжелого бетона прочностью на сжатие от 5 до 100 МПа;
Испытания легкого бетона прочностью на сжатие от 5 до 40 МПа;
Максимальная фракция крупного заполнителя бетона не более рабочей глубины заделки анкерных устройств.
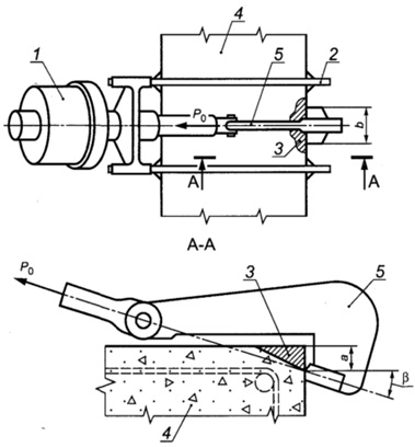
А.3 Опоры нагружающего устройства должны равномерно прилегать к поверхности бетона на расстоянии не менее 2h от оси анкерного устройства, где h - рабочая глубина заделки анкерного устройства. Схема испытания приведена на рисунке А.1.

1 - прибор с нагружающим устройством и силоизмерителем; 2 - опора нагружающего устройства; 3 - захват нагружающего устройства; 4 - переходные элементы, тяги; 5 - анкерное устройство; 6 - вырываемый бетон (конус отрыва); 7 - испытуемая конструкция
"Рисунок А.1 - Схема испытания методом отрыва со скалыванием"
А.4 Стандартной схемой испытания методом отрыва со скалыванием предусмотрено применение анкерных устройств трех типов (см. рисунок А.2). Анкерное устройство типа I устанавливают в конструкции при бетонировании. Анкерные устройства типов II и III устанавливают в предварительно подготовленные в конструкции отверстия.

1 - рабочий стержень: 2 - рабочий стержень с разжимным конусом; 3 - сегментные рифленые щеки; 4 - опорный стержень; 5 - рабочий стержень с полым разжимным конусом; 6 - выравнивающая шайба
"Рисунок А.2 - Типы анкерных устройств для стандартной схемы испытаний"
А.5 Параметры анкерных устройств и допустимые для них диапазоны измеряемой прочности бетона при стандартной схеме испытаний указаны в таблице А.1. Для легкого бетона при стандартной схеме испытаний применяются только анкерные устройства с глубиной заделки 48 мм.
Таблица А.1 - Параметры анкерных устройств при стандартной схеме испытаний
|
Тип анкерного устройства |
Глубина заделки анкерных устройств, мм |
Допустимый для анкерного устройства диапазон измерений прочности на сжатие бетона, МПа |
|||
|
рабочая h |
тяжелого | ||||
А.6 Конструкции анкеров типов II и III должны обеспечивать предварительное (до приложения нагрузки) обжатие стенок отверстия на рабочей глубине заделки h и контроль проскальзывания после испытания.
Приложение Б
(обязательное)
Стандартная схема испытания методом скалывания ребра
Б.1 Стандартная схема испытания методом скалывания ребра предусматривает проведение испытаний при соблюдении требований Б.2 - Б.4.
Б.2 Стандартная схема испытаний применима в следующих случаях:
Максимальная фракция крупного заполнителя бетона не более 40 мм;
Испытания тяжелого бетона прочностью на сжатие от 10 до 70 МПа на гранитном и известняковом щебне.
Б.3 Для проведения испытаний применяют прибор, состоящий из силовозбудителя с блоком силоизмерителя и захвата со скобой для местного скалывания ребра конструкции. Схема испытания приведена на рисунке Б.1.

1 - приборе нагружающим устройством и силоизмерителем; 2 - опорная рама; 3 - скалываемый бетон; 4 - испытуемая конструкция. 5 - захват со скобой
"Рисунок Б.1 - Схема испытания методом скалывания ребра"
Б.4 При местном скалывании ребра должны быть обеспечены следующие параметры:
Глубина скалывания а = (20±2) мм;
Ширина скалывания b = (30±0, 5) мм;
Угол между направлением действия нагрузки и нормалью к нагружаемой поверхности конструкции β = (18±1)°.
Градуировочная зависимость для метода отрыва со скалыванием при стандартной схеме испытания
При проведении испытаний методом отрыва со скалыванием по стандартной схеме согласно приложению А кубиковую прочность бетона на сжатие R, МПа, допускается вычислять по градуировочной зависимости по формуле
где m 1 - коэффициент, учитывающий максимальный размер крупного заполнителя в зоне вырыва и принимаемый равным 1 при крупности заполнителя менее 50 мм;
m 2 - коэффициент пропорциональности для перехода от усилия вырыва в килоньютонах к прочности бетона в мегапаскалях;
Р - усилие вырыва анкерного устройства, кН.
При испытании тяжелого бетона прочностью 5 МПа и более и легкого бетона прочностью от 5 до 40 МПа значения коэффициента пропорциональности m 2 принимают по таблице В.1.
Таблица В.1
|
Тип анкерного устройства |
Диапазон измеряемой прочности бетона на сжатие, МПа |
Диаметр анкерного устройства d, мм |
Глубина заделки анкерного устройства, мм |
Значение коэффициента m 2 для бетона |
|
|
тяжелого | |||||
Коэффициенты m 2 при испытании тяжелого бетона со средней прочностью выше 70 МПа следует принимать по ГОСТ 31914.
Градуировочная зависимость для метода скалывания ребра при стандартной схеме испытания
При выполнении испытания методом скалывания ребра по стандартной схеме согласно приложению Б кубиковую прочность на сжатие бетона на гранитном и известковом щебне R, МПа, допускается вычислять по градуировочной зависимости по формуле
R=0, 058m(30P+P 2),
где m - коэффициент, учитывающий максимальный размер крупного заполнителя и принимаемый равным:
1, 0 - при крупности заполнителя менее 20 мм;
1, 05 - при крупности заполнителя от 20 до 30 мм;
1, 1 - при крупности заполнителя от 30 до 40 мм;
Р - усилие скалывания, кН.
Приложение Д
(обязательное)
Требования к приборам для механических испытаний
Таблица Д.1
|
Наименование характеристик приборов |
Характеристика приборов для метода |
|||||
|
упругого отскока |
ударного импульса |
пластической деформации |
скалывания ребра |
отрыва со скалыванием |
||
|
Твердость ударника, бойка или индентора HRCэ, не менее | ||||||
|
Шероховатость контактной части ударника или индентора, мкм, не более | ||||||
|
Диаметр ударника или индентора, мм, не менее | ||||||
|
Толщина кромок дискового индентора, мм, не менее | ||||||
|
Угол конического индентора | ||||||
|
Диаметр отпечатка, % диаметра индентора | ||||||
|
Допуск перпендикулярности при приложении нагрузки на высоте 100 мм, мм | ||||||
|
Энергия удара, Дж, не менее | ||||||
|
Скорость увеличения нагрузки, кН/с | ||||||
|
Погрешность измерения нагрузки, %, не более | ||||||
|
* При вдавливании индентора в поверхность бетона. |
||||||
Методика установления, корректировки и оценки параметров градуировочных зависимостей
Е.1 Уравнение градуировочной зависимости
Уравнение зависимости "косвенная характеристика - прочность" принимают линейным по формуле
Е.2 Отбраковка результатов испытаний
После построения градуировочной зависимости по формуле (Е.1) проводят ее корректировку путем отбраковки единичных результатов испытаний, не удовлетворяющих условию:
где R i н - прочность бетона в i-м участке, определенная по рассматриваемой градуировочной зависимости;
S - остаточное среднеквадратическое отклонение, рассчитываемое по формуле
,
здесь R i ф, N - см. экспликацию к формуле (Е.3).
После отбраковки градуировочную зависимость устанавливают вновь по формулам (Е.1) - (Е.5) по оставшимся результатам испытания. Отбраковку оставшихся результатов испытаний повторяют, рассматривая выполнение условия (Е.6) при использовании новой (скорректированной) градуировочной зависимости.
Частные значения прочности бетона должны удовлетворять требованиям 6.1.7.
Е.3 Параметры градуировочной зависимости
Для принятой градуировочной зависимости определяют:
Минимальное и максимальное значения косвенной характеристики H min , H max ;
Среднеквадратическое отклонение S T . H . M построенной градуировочной зависимости по формуле (Е.7);
Коэффициент корреляции градуировочной зависимости r по формуле
,
где среднее значение прочности бетона по градуировочной зависимости R̅ н рассчитывают по формуле
здесь значения R i н, R i ф, R̅ ф, N - см. экспликации к формулам (Е.3), (Е.6).
Е.4 Корректировка градуировочной зависимости
Корректировка установленной градуировочной зависимости с учетом дополнительно получаемых результатов испытаний должна проводиться не реже одного раза в месяц.
При корректировке градуировочной зависимости к существующим результатам испытаний добавляют не менее трех новых результатов, полученных при минимальном, максимальном и промежуточном значениях косвенного показателя.
По мере накопления данных для построения градуировочной зависимости результаты предыдущих испытаний, начиная с самых первых, отбраковывают, чтобы общее число результатов не превышало 20. После добавления новых результатов и отбраковки старых минимальное и максимальное значения косвенной характеристики, градуировочную зависимость и ее параметры устанавливают вновь по формулам (Е.1) - (Е.9).
Е.5 Условия применения градуировочной зависимости
Применение градуировочной зависимости для определения прочности бетона по настоящему стандарту допускается только для значений косвенной характеристики, попадающей в диапазон от H min до H max .
Если коэффициент корреляции r < 0, 7 или значение S T . H . M / R̅ ф > 0, 15, то проведение контроля и оценка прочности по полученной зависимости не допускаются.
Приложение Ж
(обязательное)
Методика привязки градуировочной зависимости
Ж.1 Значение прочности бетона, определяемое с использованием градуировочной зависимости, установленной для бетона, отличающегося от испытуемого, умножают на коэффициент совпадения K с. Значение K с вычисляют по формуле
,
где R ос i - прочность бетона в i-м участке, определяемая методом отрыва со скалыванием или испытанием кернов по ГОСТ 28570;
R косв i - прочность бетона в i-м участке, определяемая любым косвенным методом по используемой градуировочной зависимости;
n - число участков испытаний.
Ж.2 При вычислении коэффициента совпадения должны быть соблюдены условия:
Число участков испытаний, учитываемых при вычислении коэффициента совпадения, n ≥ 3;
Каждое частное значение R ос i /R косв i должно быть не менее 0, 7 и не более 1, 3:
;
Каждое частное значение R ос i /R косв i должно отличаться от среднего значения не более чем на 15%:
.
Значения R ос i /R косв i , не удовлетворяющие условиям (Ж.2), (Ж.3), не должны учитываться при вычислении коэффициента совпадения K с.
Назначение числа участков испытаний сборных и монолитных конструкций
И.1 В соответствии с ГОСТ 18105 при контроле прочности бетона сборных конструкций (отпускной или передаточной) число контролируемых конструкций каждого вида принимают не менее 10% и не менее 12 конструкций из партии. Если партия состоит из 12 конструкций и менее, проводят сплошной контроль. При этом число участков должно быть не менее:
1 на 4 м длины линейных конструкций;
1 на 4 м 2 площади плоских конструкций.
И.2 В соответствии с ГОСТ 18105 при контроле прочности бетона монолитных конструкций в промежуточном возрасте неразрушающими методами контролируют не менее одной конструкции каждого вида (колонна, стена, перекрытие, ригель и т.д.) из контролируемой партии.
И.3 В соответствии с ГОСТ 18105 при контроле прочности бетона монолитных конструкций в проектном возрасте проводят сплошной неразрушающий контроль прочности бетона всех конструкций контролируемой партии. При этом число участков испытаний должно быть не менее:
3 на каждую захватку для плоских конструкций (стена, перекрытие, фундаментная плита);
1 на 4 м длины (или 3 на захватку) для каждой линейной горизонтальной конструкции (балка, ригели);
6 на каждую конструкцию - для линейных вертикальных конструкций (колонна, пилон).
Общее число участков измерений для расчета характеристик однородности прочности бетона партии конструкций должно быть не менее 20.
И.4 Число единичных измерений прочности бетона механическими методами неразрушающего контроля на каждом участке (число измерений на участке) принимают по таблице 2.
Форма таблицы представления результатов испытаний
|
Наименование конструкций (партии конструкций), проектный класс прочности бетона, дата бетонирования или возраст бетона испытанных конструкций |
Обозначение(1) |
N участка по схеме или расположение в осях(2) |
Прочность бетона, МПа |
Класс прочности бетона(5) |
|
|
участка(3) |
средняя(4) |
||||
|
(1) Марка, условное обозначение и (или) расположение конструкции в осях, зоны конструкции, или части монолитной и сборно-монолитной конструкции (захватки), для которой определяется класс прочности бетона. (2) Общее число и расположение участков в соответствии с 7.1.1. (3) Прочность бетона участка в соответствии с 7.1.5. (4) Средняя прочность бетона конструкции, зоны конструкции или части монолитной и сборно-монолитной конструкции при количестве участков, отвечающих требованиям 7.1.1. (5) Фактический класс прочности бетона конструкции или части монолитной и сборно-монолитной конструкции согласно пунктам 7.3 - 7.5 ГОСТ 18105 в зависимости от выбранной схемы контроля. Примечание - Представление в графе "Класс прочности бетона" оценочных значений класса или значений требуемой прочности бетона для каждого участка отдельно (оценка класса прочности по одному участку) не допустимо. |
|||||
Выдержки из ГОСТ 22690 ОПРЕДЕЛЕНИЕ ПРОЧНОСТИ МЕХАНИЧЕСКИМИ МЕТОДАМИ НЕРАЗРУШАЮЩЕГО КОНТРОЛЯ
ПРОВЕДЕНИЕ ИСПЫТАНИЙ
4.1. Испытания проводят на участке конструкции площадью от 100 до 600 см 2 .
4.2. Прочность бетона в контролируемом участке конструкции определяют по градуировочной зависимости, установленной в соответствии с требованиями разд. 3, при условии, что измеренные значения косвенного показателя находятся в пределах между наименьшим и наибольшим значениями косвенного показателя в образцах, испытанных при построении градуировочной зависимости.
4.3. Число и расположение контролируемых участков при испытании конструкций должно соответствовать требованиям ГОСТ 18105-86 или указываться в стандартах и (или) технических условиях на сборные или в рабочих чертежах на монолитные конструкции и (или) в технологических картах на контроль. При определении прочности обследуемых конструкций число и расположение участков должно приниматься по программе проведения обследования.
4.4. Число испытаний на одном участке, расстояние между местами испытаний на участке и от края конструкции, толщина конструкции на участке испытания должны быть не меньше значений, приведенных в табл. 3.
Таблица 3 мм
4.5. Шероховатость поверхности участка бетона конструкции при испытании методами отскока, ударного импульса, пластической деформации должна соответствовать шероховатости поверхности кубов, испытанных при установлении градуировочной зависимости. В необходимых случаях допускается зачистка поверхности конструкции. При испытании методом пластической деформации при вдавливании, если нулевой отсчет снимают после приложения начальной нагрузки, требования к шероховатости поверхности бетона конструкций не предъявляют.
4.6. Метод упругого отскока
4.6.1. При испытании методом упругого отскока расстояние от мест проведения испытания до арматуры должно быть не менее 50 мм.
4.6.2. Испытание проводят в следующей последовательности: прибор располагают так, чтобы усилие прикладывалось перпендикулярно к испытываемой поверхности в соответствии с инструкцией по эксплуатации прибора; положение прибора при испытании конструкции относительно горизонтали рекомендуется принимать таким же, как при испытании образцов для установления градуировочной зависимости; при другом положении необходимо вносить поправку на показания в соответствии с инструкцией по эксплуатации прибора; фиксируют значение косвенной характеристики в соответствии с инструкцией по эксплуатации прибора; вычисляют среднее значение косвенной характеристики на участке конструкции.
4.7. Метод пластической деформации.
4.7.1. При испытании методом пластической деформации расстояние от мест проведения испытаний до арматуры должно быть не менее 50 мм.
4.7.2. Испытание проводят в следующей последовательности: прибор располагают так, чтобы усилие прикладывалось перпендикулярно к испытываемой поверхности в соответствии с инструкцией по эксплуатации прибора; при сферическом инденторе испытание допускается проводить для облегчения измерений диаметров отпечатков через листы копировальной и белой бумаги (в этом случае образцы для установления градуировочной зависимости испытывают с применением такой же бумаги); фиксируют значения косвенной характеристики в соответствии с инструкцией по эксплуатации прибора; вычисляют среднее значение косвенной характеристики на участке конструкции. 4.8. Метод ударного импульса
4.8.1. При испытании методом ударного импульса расстояние мест проведения испытания до арматуры должно быть не менее 50 мм.
4.8.2. Испытания проводят в следующей последовательности: прибор располагают так, чтобы усилие прикладывалось перпендикулярно к испытываемой поверхности в соответствии с инструкцией по эксплуатации прибора; положение прибора при испытании конструкции относительно горизонтали рекомендуется принимать таким же, как при испытании образцов для установления градуировочной зависимости; при другом положении необходимо вносить поправку на показания в соответствии с инструкцией по эксплуатации прибора; фиксируют значение косвенной характеристики в соответствии с инструкцией по эксплуатации прибора; вычисляют среднее значение косвенной характеристики на участке конструкции.
4.9. Метод отрыва
4.9.1. При испытании методом отрыва участки должны располагаться в зоне наименьших напряжений, вызываемых эксплуатационной нагрузкой или усилием обжатия предварительно напряженной арматуры.
4.9.2. Испытание проводят в следующей последовательности: в месте приклейки диска снимают поверхностный слой бетона глубиной 0,5 - 1 мм и поверхность очищают от пыли; диск приклеивают к бетону так, чтобы слой клея на поверхности бетона не выходил за пределы диска; прибор соединяют с диском; нагрузку плавно увеличивают со скоростью (1 P 0,3) кН/с; фиксируют показание силоизмерителя прибора; измеряют площадь проекции поверхности отрыва на плоскости диска с погрешностью P0,5 см 2 ; определяют значение условного напряжения в бетоне при отрыве. Результаты испытаний не учитывают, если при отрыве бетона была обнаружена арматура или площадь проекции поверхности отрыва составила менее 80 % площади диска.
4.10. Метод отрыва со скалыванием 4.10.1. При испытании методом отрыва со скалыванием участки должны располагаться в зоне наименьших напряжений, вызываемых эксплуатационной нагрузкой или усилием обжатия предварительно напряженной арматуры.
4.10.2. Испытания проводят в следующей последовательности: если анкерное устройство не было установлено до бетонирования, то в бетоне сверлят или пробивают шпур, размер которого выбирают в соответствии с инструкцией по эксплуатации прибора в зависимости от типа анкерного устройства; в шпуре закрепляют анкерное устройство на глубину, предусмотренную инструкцией по эксплуатации прибора, в зависимости от типа анкерного устройства; прибор соединяют с анкерным устройством; нагрузку увеличивают со скоростью 1,5 - 3,0 кН/с; фиксируют показание силоизмерителя прибора и глубину вырыва с точностью не менее 1 мм. Если наибольший и наименьший размеры вырванной части бетона от анкерного устройства до границ разрушения по поверхности конструкции отличаются более чем в два раза, а также если глубина вырыва отличается от глубины заделки анкерных устройств более чем на 5 %, то результаты испытаний допускается учитывать только для ориентировочной оценки прочности бетона.
4.11. Метод скалывания ребра
4.11.1. При испытании методом скалывания ребра на участке испытания не должно быть трещин, околов бетона, наплывов или раковин высотой (глубиной) более 5 мм. Участки должны располагаться в зоне наименьших напряжений, вызываемых эксплуатационной нагрузкой или усилием обжатия предварительно напряженной арматуры.
4.11.2. Испытание проводят в следующей последовательности: прибор закрепляют на конструкции, прикладывают нагрузку со скоростью не более (1 P 0,3) кН/с; фиксируют показание силоизмерителя прибора; измеряют фактическую глубину скалывания; определяют среднее значение усилия скалывания. Результаты испытания не учитывают, если при скалывании бетона была обнажена арматура и фактическая глубина скалывания отличалась от заданной (см. приложение 3) более чем на 2 мм.
МЕЖГОСУДАРСТВЕННЫЙ СОВЕТ ПО СТАНДАРТИЗАЦИИ, МЕТРОЛОГИИ И СЕРТИФИКАЦИИ
INTERSTATE COUNCIL FOR STANDARDIZATION, METROLOGY AND CERTIFICATION
МЕЖГОСУДАРСТВЕННЫЙ
СТАНДАРТ
БЕТОНЫ
Определение прочности механическими методами неразрушающего контроля
(EN 12504-2:2001, NEQ)
(EN 12504-3:2005, NEQ)
Издание официальное
Стенда ртинформ 2016
Предисловие
Цели, основные принципы и основной порядок проведения работ по межгосударственной стан, дартизации установлены ГОСТ 1.0-92 «Межгосударственная система стандартизации. Основные положения» и ГОСТ 1.2-2009 «Межгосударственная система стандартизации. Стандарты межгосударственные. правила и рекомендации по межгосударственной стандартизации. Правила разработки, принятия, применения, обновления и отмены»
Сведения о стандарте
1 РАЗРАБОТАН Структурным подразделением АО «НИЦ «Строительство» Научно-исследовательским. проектно-конструкторским и технологическим институтом бетона и железобетона им. А.А. Гвоздева (НИИЖБ)
2 ВНЕСЕН Техническим комитетом по стандартизации ТК 465 «Строительство»
3 ПРИНЯТ Межгосударственным советом по стандартизации, метрологии и сертификации (протокол от 18 июня 2015 г. № 47)
4 Приказом Федерального агентства по техническому регулированию и метрологии от 25 сентября 2015 г. № 1378-ст межгосударственный стандарт ГОСТ 22690-2015 введен в действие в качестве национального стандарта Российской Федерации с 1 апреля 2016 г.
5 8 настоящем стандарте учтены основные нормативные положения в части требований к механическим методам неразрушающего контроля прочности бетона следующих европейских региональных стандартов:
EN 12504-2:2001 Testing concrete in structures - Part 2: Non-destructive testing - Determination of rebound number (Испытание бетона в конструкциях. Часть 2. Неразрушающий контроль. Определение критерия отскока);
EN 12504-3:2005 Testing concrete in structures - Determination of pull-out force (Испытание бетона в конструкциях. Часть 3. Определение усилия отрыва).
Степень соответствия - неэквивалентная (NEQ)
6 83АМЕН ГОСТ 22690-88
Информация об изменениях к настоящему стандарту публикуется в ежегодном информацией-ном указателе «Национальные стандарты», а текст изменении и поправок - е ежемесячном информационном указателе «Национальные стандарты». В случае пересмотра (замены) или отмены настоящего стандарта соответствующее уведомление будет опубликовано е ежемесячном информационном указателе *Национальные стандарты». Соответствующая информация, уведомление и тексты размещаются также в информационной системе общего пользования - на официальном сайте Федерального агентства по техническому регулированию и метрологии в сети Интернет
© Стандартинформ. 2016
В Российской Федерации настоящий стандартне может быть полностью или частично воспроизведен. тиражирован и распространен в качестве официального издания без разрешения Федерального агентства по техническому регулированию и метрологии
Приложение А (обязательное) Стандартная схема испытания методом отрыва со скалыванием. . . 10

МЕЖГОСУДАРСТВЕННЫЙ СТАНДАРТ
Определение прочности механическими методами нераэрушающего контроля
Determination of strength by mechanical methods of nondestructive testing
Дата введения - 2016-04-01
1 Область применения
Настоящий стандарт распространяется на конструкционные тяжелые, мелкозернистые, легкие и напрягающие бетоны монолитных, сборных и сборно-монолитных бетонных и железобетонных изделий. конструкций и сооружений (далее - конструкции) и устанавливает механические методы определения прочности на сжатие бетонов в конструкциях по упругому отскоку, ударному импульсу, пластической деформации, отрыву, скалыванию ребра иотрывусо скалыванием.
8 настоящем стандарте использованы нормативные ссылки на следующие межгосударственные стандарты:
ГОСТ 166-89(ИСО 3599-76) Штангенциркули. Технические условия
ГОСТ 577-68 Индикаторычасовоготипасценойделения0.01 мм. Технические условия
ГОСТ 2789-73 Шероховатость поверхности. Параметры и характеристики
ГОСТ 10180-2012 Бетоны. Методы определения прочности по контрольным образцам
ГОСТ 18105-2010 Бетоны. Правила контроля и оценки прочности
ГОСТ 28243-96 Пирометры. Общие технические требования
ГОСТ 28570-90 Бетоны. Методы определения прочности по образцам, отобранным из конструкций
ГОСТ 31914-2012 Бетоны высокопрочные тяжелые и мелкозернистые для монолитных конструкций. Правила контроля и оценки качества
Примечание - При пользовании настоящим стандартом целесообразно проверить действие ссылочных стандартов в информационной системе общего пользования - не официальном сайте Федерального агентства по техническому регулированию и метрологии в сети Интернет или по ежегодному информационному указателю «Национальные стандарты», который опубликован по состоянию на 1 января текущего года, и по выпускам ежемесячного информационного указателя «Национальные стандарты» за текущий год. Если ссылочный стандарт заменен (изменен), то при пользовании настоящим стандартом следует руководствоваться заменяющим (измененным) стандартом. Если ссылочный стандарт отменен без замены, то положение, в котором дане ссылка на него, применяется в части, не затрагивающей эту ссылку.
3 Термины и определения
8 настоящем стандарте применены термины по ГОСТ 18105. а также следующие термины с соответствующими определениями:
Издание официальное
разрушающие методы определения прочности бетона: Определение прочности бетона по контрольным образцам, изготовленным из бетонной смеси по ГОСТ 10180 или отобранным из конструкций по ГОСТ 28570.
[ГОСТ 18105-2010. статья 3.1.18]
3.2 неразрушающие механические методы определения прочности бетона: Определение прочности бетона непосредственно в конструкции при локальном механическом воздействии на бетон (удар, отрыв, скол, вдавливание, отрыв со скалыванием, упругий отскок).
3.3 косвенные нераэрушающие методы определения прочности бетона: Определение прочности бетона по предварительно установленным градуировочным зависимостям.
3.4 прямые (стандартные) неразрушающие методы определения прочности бетона: Методы, предусматривающие стандартные схемы испытаний (отрыв со скалыванием и скалывание ребра) и допускающие применение известных градуировочных зависимостей без привязки и корректировки
3.5 градуировочная зависимость: Графическая или аналитическая зависимость между косвенной характеристикой прочности и прочностью бетона на сжатие, определенной одним из разрушающих или прямых неразрушающих методов.
3.6 косвенные характеристики прочности (косвенный показатель): Величина прикладываемого усилия при местном разрушении бетона, величина отскока, энергия удара, размер отпечатка или другое показание прибора при измерении прочности бетона неразрушающими механическими методами.
4 Общие положения
4.1 Неразрушающие механические методы применяют для определения прочности бетона на сжатие в установленном проектной документацией промежуточном и проектном возрасте и в возрасте, превышающем проектный, при обследовании конструкций.
4.2 Неразрушающие механические методы определения прочности бетона, установленные настоящим стандартом, подразделяют по виду механического воздействия или определяемой косвенной характеристики на метод:
Упругого отскока;
Пластической деформации;
> ударного импульса:
Отрыва со скалыванием:
Скалывания ребра.
4.3 Нераэрушающие механические методы определения прочности бетона основаны на связи прочности бетона с косвенными характеристиками прочности:
Метод упругого отскока на связи прочности бетона со значением отскока бойка от поверхности бетона (или прижатого к ней ударника);
Метод пластической деформации на связи прочности бетона с размерами отпечатка на бетоне конструкции (диаметра, глубины и т. п.) или соотношения диаметра отпечатка на бетоне и стандартном металлическом образце при ударе индентора или вдавливании индентора в поверхность бетона;
Метод ударного импульса на связи прочности бетона с энергией удара и ее изменениями в момент соударения бойка с поверхностью бетона;
Метод отрыва на связи напряжения, необходимого для местного разрушения бетона при отрыве приклеенного к нему металлического диска, равного усилию отрыва, деленному на площадь проекции поверхности отрыва бетона на плоскость диска;
Метод отрыва со скалыванием на связи прочности бетона со значением усилия местного разрушения бетона при вырыее из него анкерного устройства;
Метод скалывания ребра на связи прочности бетона со значением усилия, необходимого для скалывания участка бетона на ребре конструкции.
4.4 В общем случае неразрушающие механические методы определения прочности бетона являются косвенными нераэрушающими методами определения прочности. Прочность бетона в конструкциях определяют по экспериментально установленным градуировочным зависимостям.
4.5 Метод отрыва со скалыванием при проведении испытаний в соответствии со стандартной схемой по приложению А и метод скалывания ребра при проведении испытаний в соответствии со стандартной схемой по приложению Б являются прямыми неразрушающими методами определения прочности бетона. Для прямых неразрушающих методов допускается использовать градуировочные зависимости, установленные в приложениях б и Г.
Примечание - Стандартные схемы испытаний применимы а ограниченном диапазоне прочности бетона (см. приложения А и Б) Для случаев, не относящихся к стандартным схемам испытаний, следует устанавливать грвдуировочные зависимости по общим правилам.
4.6 Метод испытания следует выбирать с учетом данных, приведенных в таблице 1. и дополнительных ограничений, установленных производителями конкретных средств измерений. Применение методов за пределами рекомендуемых в таблице 1 диапазонов прочности бетона допускается при научно-техническом обосновании по результатам исследований с использованием средств измерений, прошедших метрологическую аттестацию для расширенного диапазона прочности бетона.
Таблица 1
4.7 Определение прочности тяжелых бетонов проектных классов В60 и выше или при средней прочности бетона на сжатие R m i 70 МПа в монолитных конструкциях необходимо проводить с учетом положений ГОСТ 31914.
4.8 Прочность бетона определяют на участках конструкций, не имеющих видимых повреждений (отслоение защитного слоя, трещины, каверны и т. п.).
4.9 Возраст бетона контролируемых конструкций и ее участков не должен отличаться от возраста бетона конструкций (участков, образцов), испытанных для установления градуировочной зависимости, более чем на 25 %. Исключениями являются контроль прочности и построение градуировочной зависимости для бетона, возраст которого превышает два месяца. В этом случае различие в возрасте отдельных конструкций (участков, образцов) не регламентируется.
4.10 Испытания проводят при положительной температуре бетона. Допускается проводить испытания при отрицательной температуре бетона, но не ниже минус 10 "С, при установлении или привязке градуировочной зависимости сучетом требований 6.2.4. Температура бетона при испытаниях должна соответствовать температуре, предусмотренной условиями эксплуатации приборов.
Градуировочные зависимости, установленные при температуре бетона нижеО *С, не допускается применять при положительных температурах.
4.11 При необходимости проведения испытаний бетона конструкций после тепловой обработки при температуре поверхности Т к 40 *С (для контроля отпускной, передаточной и распалубочной прочности бетона) градуировочную зависимость устанавливают после определения прочности бетона в конструкции косвенным неразрушающим методом при температуре (я (Т ± 10) *С, а испытания бетона прямым неразрушающим методом или испытания образцов - после остывания при нормальной температуре.
5 Средства измерений, аппаратура и инструмент
5.1 Средства измерений и приборы для механических испытаний, предназначенные для определения прочности бетона, должны быть аттестованы и поверены в установленном порядке и должны соответствовать требованиям по приложению Д.
5.2 Показания приборов, градуированных в единицах прочности бетона, следует рассматривать как косвенный показатель прочности бетона. Указанные приборы следует использовать только после
установления градуировочной зависимости «показание прибора - прочность бетона» или привязки зависимости, установленной в приборе в соответствии с 6.1.9.
5.3 Инструмент для измерения диаметра отпечатков (штангенциркуль по ГОСТ 166), используемый для метода пластических деформаций, должен обеспечивать измерение с погрешностью не более 0.1 мм. инструмент для измерения глубины отпечатка (индикатор часового типа по ГОСТ 577 и др.) - с погрешностью не более 0.01 мм.
5.4 Стандартные схемы проведения испытаний методом отрыва со скалыванием и скола ребра предусматривают применение анкерных устройств и захватов в соответствии с приложениями А и Б.
5.5 Для методаотрыеа соскалыванием следует применять анкерныеустройстеа. глубина заделки которых должна быть не менее максимального размера крупного заполнителя бетона испытуемой конструкции.
5.6 Для метода отрыва следует использовать стальные диски диаметром не менее 40 мм. толщи* ной не менее 6 мм и не менее 0.1 диаметра, с параметрами шероховатости приклеиваемой поверхности не менее Ra = 20 мкм по ГОСТ 2789. Клей для приклейки диска должен обеспечивать прочность сцеплв-ния с бетоном, при которой разрушение происходит по бетону.
6 Подготовка к испытаниям
6.1 Порядок подготовки к проведению испытаний
6.1.1 Подготовка к испытаниям включает в себя проверку используемых приборов в соответствии с инструкциями по их эксплуатации и установление градуировочных зависимостей между прочностью бетона и косвенной характеристикой прочности.
6.1.2 Градуировочную зависимость устанавливают на основании следующих данных:
Результатов параллельных испытаний одних и тех же участков конструкций одним из косвенных методов и прямым неразрушающим методом определения прочности бетона;
Результатов испытаний участков конструкций одним из косвенных нераэрушающих методов определения прочности бетона и испытаний образцов-кернов, отобранных из тех же участков конструкции и испытанных в соответствии с ГОСТ 28570:
Результатов испытаний стандартных бетонных образцов одним из косвенных неразрушающих методов определения прочности бетона и механических испытаний по ГОСТ 10180.
6.1.3 Для косвенных неразрушающих методов определения прочности бетона градуировочную зависимость устанавливают для каждого вида нормируемой прочности, указанной в 4.1 для бетонов одного номинального состава.
Допускается строить одну градуировочную зависимость для бетонов одного вида с одним типом крупного заполнителя, с единой технологией производства, отличающихся по номинальному составу и значению нормируемой прочности при соблюдении требований 6.1.7
6.1.4 Допустимое отличие возраста бетона отдельных конструкций (участков, образцов) при установлении градуировочной зависимости от возраста бетона контролируемой конструкции принимают по 4.9.
6.1.5 Для прямых неразрушающих методов по 4.5 допускается использовать зависимости, приведенные в приложениях В и Г для всех видов нормируемой прочности бетона.
6.1.6 Градуировочная зависимость должна иметь среднеквадратическое (остаточное) отклонение S T н м. не превышающее 15 % среднего значения прочности бетона участков или образцов, использованных при построении зависимости, и коэффициент (индекс) корреляции не менее 0.7.
Рекомендуется использовать линейную зависимость вида R* а*ЬК (где R - прочность бетона. К-косвенный показатель). Методика установления, оценки параметров и определения условий применения линейной градуировочной зависимости приведена в приложении Е.
6.1.7 При построении градуировочной зависимости отклонения единичных значений прочности бетона R^ от среднего значения прочности бетона участков или образцов Я ф. использованных для построения градуировочной зависимости, должны быть в пределах:
> от 0.5 до 1.5 среднего значения прочности бетона Я ф приЯ ф £20 МПа;
От 0.6 до 1.4 среднего значения прочности бетона R, ф при 20 МПа < Я ф £50 МПа;
От 0,7 до 1.3 среднего значения прочности бетона R ф при 50 МПа <Я Ф £80 МПа;
От 0.8 до 1.2 среднего значения прочности бетона Я ф приЯ ф > 80 МПа.
6.1.8 Корректировка установленной зависимости для бетонов в промежуточном и проектном возрасте должна проводиться не реже одного раза в месяц с учетом дополнительно полученных результатов испытаний. Число образцов или участков дополнительных испытаний при проведении корректировки должно быть не менее трех. Методика корректировки приведена в приложении Е.
6.1.9 Допускается применять косвенные неразрушающие методы определения прочности бетона, используя градуировочные зависимости, установленные для бетона, отличающегося от испытуемого по составу, возрасту, условиям твердения, влажности, с привязкой в соответствии с методикой поприпожениюЖ.
6.1.10 Без привязки к конкретным условиям по приложению Ж градуировочные зависимости, установленные для бетона, отличающегося от испытуемого, допускается использовать только для получения ориентировочных значений прочности. Не допускается использовать ориентировочные значения прочности без привязки к конкретным условиям для оценки класса бетона по прочности.
6.2 Построение градуировочной зависимости по результатам испытаний прочности бетона
в конструкциях
6.2.1 При построении градуировочной зависимости по результатам испытаний прочности бетона в конструкциях зависимость устанавливают по единичным значениям косвенного показателя и прочности бетона одних и тех же участков конструкций.
За единичное значение косвенного показателя принимают среднее значение косвенного показателя в участке. За единичное значение прочности бетона принимают прочность бетона участка, определенную прямым неразрушающим методом или испытанием отобранных образцов.
6.2.2 Минимальное число единичных значений для построения градуировочной зависимости по результатам испытаний прочности бетона в конструкциях - 12.
6.2.3 При построении градуировочной зависимости по результатам испытаний прочности бетона в конструкциях не подлежащих испытанию конструкциях или их зонах предварительно проводят измерения косвенным неразрушающим методом согласно требованиям раздела 7.
Затем выбирают участки в количестве, предусмотренном 6.2.2, на которых получены максимальное. минимальное и промежуточные значения косвенного показателя.
После испытания косвенным неразрушающим методом участки испытывают прямым неразру-шающим методом или отбирают образцы для испытания по ГОСТ 26570.
6.2.4 Для определения прочности при отрицательной температуре бетона участки, выбранные для построения или привязки градуировочной зависимости, сначала испытывают косвенным нераэру-шающим методом, а затем отбирают образцы для последующего испытания при положительной температуре или отогревают внешними источниками тепла (инфракрасные излучатели, тепловые пушки и др.) на глубину 50 мм до температуры не ниже 0 *С и испытывают прямым неразрушающим методом. Контроль температуры отогреваемого бетона проводят на глубине установки анкерного устройства в подготовленном отверстии или по поверхности скола бесконтактным способом с помощью пирометра по ГОСТ 28243.
Отбраковка результатов испытаний, используемых для построения градуировочной зависимости при отрицательной температуре, допускается только в том случае, если отклонения связаны с нарушением процедуры испытания. При этом отбраковываемый результат должен быть заменен результатами повторного испытания в той же зоне конструкции.
6.3 Построение градуировочной зависимости по контрольным образцам
6.3.1 При построении градуировочной зависимости по контрольным образцам зависимость устанавливают по единичным значениям косвенного показателя и прочности бетона стандартных образцов-кубов.
За единичное значение косвенного показателя принимают среднее значение косвенных показателей для серии образцов или для одного образца (если градуировочную зависимость устанавливают по отдельным образцам). За единичное значение прочности бетона принимают прочность бетона в серии по ГОСТ 10180 или одного образца (градуировочная зависимость по отдельным образцам). Механические испытания образцов по ГОСТ 10180 проводят непосредственно после испытаний косвенным нераэ-рушающим методом.
6.3.2 При построении градуировочной зависимости по результатам испытаний образцов-кубов используют не менее 15 серий образцов-кубов по ГОСТ 10180 или не менее 30 отдельных образцов-кубов. Образцы изготовляют в соответствии с требованиями ГОСТ 10180 в разные смены, в течение не менее 3 сут из бетона одного номинального состава, по одной технологии, при том же режиме твердения, что и конструкция, подлежащая контролю.
Единичные значения прочности бетона образцов-кубов, используемых для построения градуировочной зависимости, должны соответствовать ожидаемым на производстве отклонениям, при этом быть в пределах диапазонов, установленных в 6.1.7.
6.3.3 Градуировочную зависимость для методов упругого отскока, ударного импульса, пластической деформации, отрыва и скалывания ребра устанавливают на основе результатов испытаний изготовленных образцов-кубов сначала неразрушающим методом, а затем разрушающим методом по ГОСТ 10180.
При установлении градуировочной зависимости для метода отрыва со скалыванием изготовляют основные и контрольные образцы по 6.3.4. На основных образцах определяют косвенную характеристику. контрольные образцы испытывают по ГОСТ 10180. Основные и контрольные образцы должны быть изготовлены из одного бетона и твердеть в одинаковых условиях.
6.3.4 Размеры образцов следует выбирать в соответствии с наибольшей крупностью заполнителя в бетонной смеси по ГОСТ 10180. но не менее:
100* 100* 100 мм для методов отскока, ударного импульса, пл астической деформации. а также для метода отрыва со скалыванием (контрольные образцы);
200 * 200 * 200 мм для метода скалывания ребра конструкции:
300 * 300 * 300 мм. но сразмером ребра не менее шести глубин установки анкерного устройства для метода отрыва со скалыванием (основные образцы).
6.3.5 Для определения косвенных характеристик прочности проводят испытания согласно требованиям раздела 7 на боковых (по направлению бетонирования) гранях образцов-кубов.
Общее число измерений на каждом образце для метода упругого отскока, ударного импульса, пластической деформации при ударе должно быть не менее установленного числа испытаний на участке по таблице 2. а расстояние между местами ударов - не менее 30 мм (15 мм для метода ударного импульса). Для метода пластической деформации при вдавливании число испытаний на каждой грани должно быть не менее двух, а расстояние между местами испытаний - не менее двух диаметров отпечатков.
При установлении градуировочной зависимости для метода скалывания ребра проводят по одному испытанию на каждом боковом ребре.
При установлении градуировочной зависимости для метода отрыва со скалыванием проводят по одному испытанию на каждой боковой грани основногообраэца.
6.3.6 При испытаниях методом упругого отскока, ударного импульса, пластической деформации при ударе образцы должны быть зажаты в прессе с усилием не менее (30 ± 5) кН и не более 10 % ожидаемого значения разрушающей нагрузки.
6.3.7 Образцы, испытанные методом отрыва, устанавливают на прессе так. чтобы к опорным плитам пресса не прилегали поверхности, на которых проводили вырыв. Результаты испытаний по ГОСТ 10180 увеличивают на 5%.
7 Проведение испытаний
7.1 Общие требования
7.1.1 Число и расположение контролируемых участков в конструкциях должны соответствовать требованиям ГОСТ 18105 и указываться в проектной документации на конструкции или устанавливаться с учетом:
Задач контроля (определение фактического класса бетона, распалубочной или отпускной прочности, выявление участков пониженной прочности и т. л.};
Вида конструкции (колонны, балки, плиты и др.};
Размещения захваток и порядка бетонирования:
Армирования конструкций.
Правила назначения числа участков испытаний монолитных и сборных конструкций при контроле прочности бетона приведены в приложении И. При определении прочности бетона обследуемых конструкций число и расположение участков должны приниматься по программе проведения обследования.
7.1.2 Испытания проводят на участке конструкции площадью от 100 до 900 см г.
7.1.3 Общее число измерений на кажаом участке, расстояние между местами измерений на участке и от края конструкции, толщина конструкций на участке измерений должны быть не менее значений, приведенных в таблице 2 в зависимости от метода испытаний.
Таблица 2 - Требования к участкам испытаний
|
Наименование метода |
Общее число измерений не участке |
Минимальное расстояние между местами измерений на участке, мм |
Минимальное расстояние от края конструкции до места измерения, мм |
Минимальная толщина конструкции, мм |
|
Упругий ОТСКОК | ||||
|
Ударный импульс | ||||
|
Пластическая дефомация | ||||
|
Скапывание ребра | ||||
|
2 диаметра диска | ||||
|
Отрыв со скалыванием при рабочей глубине заделки анкера Л: *40мм < 40мм |
7.1.4 Отклонение отдельных результатов измерений на каждом участке от среднего арифметического значения результатов измерений для данного участка не должно превышать 10 %. Результаты измерений, не удовлетворяющие указанному условию, не учитывают при вычислении среднего арифметического значения косвенного показателя для данного участка. Общее число измерений на каждом участке при вычислении среднего арифметического должно соответствовать требованиям таблицы 2.
7.1.5 Прочность бетона е контролируемом участке конструкции определяют по среднему значению косвенного показателя по градуировочной зависимости, установленной в соответствии с требованиями раздела 6. при условии, что вычисленное значение косвенного показателя находится в пределах установленной (или привязанной) зависимости (между наименьшим и наибольшим значениями прочности).
7.1.6 Шероховатость поверхности участка бетона конструкций при испытании методами отскока, ударного импульса, пластической деформации должна соответствовать шероховатости поверхности участков конструкции (или кубов}, испытанных при установлении градуировочной зависимости. В необходимых случаях допускается зачищать поверхности конструкции.
При использовании метода пластической деформации при вдавливании, если нулевой отсчет снимают после приложения начальной нагрузки, требований к шероховатости поверхности бетона конструкции не предъявляют.
7.2 Метод упругого отскока
7.2.1 Испытания проводят в следующей последовательности:
Положение прибора при испытании конструкции относительно горизонтали рекомендуется принимать таким же. как и при установлении градуировочной зависимости. При другом положении прибора необходимо вносить поправку на показатели в соответствии с инструкцией по эксплуатации прибора:
7.3 Метод пластических деформаций
7.3.1 Испытания проводят в следующей последовательности:
Прибор располагают так, чтобы усилие прикладывалось перпендикулярно испытуемой поверхности в соответствии с инструкцией по эксплуатации прибора;
При применении сферического индемтора для облегчения измерений диаметров отпечатков испытание допускается проводитьчврез листы копировальнойи белой бумаги (вэтомслучае испытания для установления градуировочной зависимости проводите применением такой же бумаги};
Фиксируют значения косвенной характеристики в соответствии с инструкцией по эксплуатации прибора;
Вычисляют среднее значение косвенной характеристики на участке конструкции.
7.4 Метод ударного импульса
7.4.1 Испытания проводят в следующей последовательности:
Прибор располагают так. чтобы усилие прикладывалось перпендикулярно испытуемой поверх* ности в соответствии с инструкцией по эксплуатации прибора:
Положение прибора при испытании конструкции относительно горизонтали рекомендуется принимать таким же, как и при испытании при установлении градуировочной зависимости. При другом положении прибора необходимо вносить поправку на показания в соответствии с инструкцией по эксплуатации прибора;
Фиксируют значение косвенной характеристики в соответствии с инструкцией по эксплуатации прибора;
Вычисляют среднее значение косвенной характеристики на участке конструкции.
7.5 Метод отрыва
7.5.1 При испытании методом отрыва участки должны располагаться в зоне наименьших напряжений, вызываемых эксплуатационной нагрузкой или усилием обжатия предварительно напряженной арматуры.
7.5.2 Испытание проводят в следующей последовательности:
В месте приклейки диска снимают поверхностный спой бетона глубиной 0.5-1 мм и очищают поверхность от пыли;
Диск приклеивают к бетону, прижимая диск и удаляя излишки клея за пределами диска;
Лриборсоединяютсдиском;
Нагрузкуплавно увеличивают соскоростью(1 ±0.3)кН/с;
Фиксируют показание силоизмерителя прибора;
Измеряют площадь проекции поверхности отрыва на плоскости диска с погрешностью iO.Scm 2 ;
Определяют значение условного напряжения вбетоне при отрыве какоткошение максимального усилия отрыва к площади проекции поверхности отрыва.
7.5.3 Результаты испытаний не учитывают, если при отрыве бетона была обнажена арматура или площадь проекции поверхности отрыва составила менее 80 % площади диска.
7.6 Метод отрыва со скалыванием
7.6.1 При испытании методом отрыва со скалыванием участки должны располагаться в зоне наименьших напряжений, вызываемых эксплуатационной нагрузкой или усилием обжатия предвари* тельно напряженной арматуры.
7.6.2 Испытания проводят в следующей последовательности:
Если анкерное устройство не было установлено до бетонирования, то в бетоне выполняют отверстие, размер которого выбирают в соответствии с инструкцией по эксплуатации прибора в зависимости от типа анкерного устройства;
В отверстие закрепляют анкерное устройство на глубину, предусмотренную инструкцией по эксплуатации прибора, в зависимости от типа анкерного устройства;
Прибор соединяют санкерным устройством;
Нагрузку увеличивают со скоростью 1.5-3,0 кН/с:
Фиксируют показание силоизмерителя прибора Р 0 и величину проскальзывания анкера ЛП (разность между фактической глубиной вырыва и глубиной заделки анкерного устройства) с точностью не мекее0.1 мм.
7.6.3 Измеренное значение силы вырыва Р 4 умножают на поправочный коэффициент у. определяемый по формуле
где Л - рабочая глубина заделки анкерного устройства, мм;
ДП - величина проскальзывания анкера, мм.
7.6.4 Если наибольший и наименьший размеры вырванной части бетона от анкерного устройства до границ разрушения по поверхности конструкции отличаются более чем в два раза, а также, если глубина вырыва отличается от глубины заделки анкерного устройства более чем на 5 % (ДЛ > 0.05ft, у > 1.1), то результаты испытаний допускается учитывать только для ориентировочной оценки прочности бетона.
Примечание - Ориентировочные значения прочности бетона не допускается использовать для оценки классе бетона по прочности и построения градуировочных зависимостей.
7.6.5 Результаты испытания не учитывают, если глубина вырыва отличается от глубины заделки анкерного устройства болеечем на 10 % (дЛ > 0.1 А) или была обнажена арматура на расстоянииот анкерного устройства, меньшем, чем глубина его заделки.
7.7 Метод скалывания ребра
7.7.1 При испытании методом скалывания ребра на участке испытания не должно быть трещин, околов бетона, наплывов или раковин высотой (глубиной) более 5 мм. Участки должны располагаться в зоне наименьших напряжений, вызываемых эксплуатационной нагрузкой или усилием обжатия предварительно напряженной арматуры.
7.7.2 Испытание проводят в следующей последовательности:
Прибор закрелляютнаконструкции. прикладывают нагрузкусоскоростьюнеболвв(1 ±0.3)кН/с;
Фиксируют показание силоиэмерителя прибора;
Измеряют фактическую глубину скалывания;
Определяют среднее значение усилия скалывания.
7.7.3 Результаты испытания не учитывают, еслиприскалывании бетона былаобнаженаарматура или фактическая глубина скалывания отличалась от заданной более чем на 2 мм.
8 Обработка и оформление результатов
8.1 Результаты испытаний представляют в таблице, в которой указывают:
Вид конструкции;
Проектный класс бетона;
Возраст бетона;
Прочность бетона каждого проконтролированного участка по 7.1.5;
Среднюю прочность бетона конструкции;
Зоны конструкции или ее части при соблюдении требований 7.1.1.
Форма таблицы представления результатов испытаний приведена в приложении К.
8.2 Обработку и оценку соответствия установленным требованиям значений фактической прочности бетона, полученных с применением приведенных в настоящем стандарте методов, проводят поГОСТ 18105.
П р и м в ч в н и в - Статистическую оценку класса бетона по результатам испытаний проводят по ГОСТ 18105 (схемы «А». «Б» или «В») в тех случаях, когда прочность бетона определяется по градуировочной зависимости, построенной в соответствии с разделом 6. При использовании ранее установленных зависимостей путем их привязки (по приложению Ж) статистический контроль не допускается, а оценку класса бетоне проводят только по схеме «Г» ГОСТ 18105.
8.3 Результаты определения прочности бетона механическими методами неразрушающего контроля оформляют в заключении (протоколе), в котором приводят следующие данные:
Об испытанных конструкциях с указанием проектного класса, даты бетонирования и проведения испытаний или возраста бетона на момент проведения испытания;
О применяемых методах контроля прочности бетона;
О типах приборов с заводскими номерами, сведения о поверках приборов;
О принятых градуировочных зависимостях (уравнение зависимости, параметры зависимости, соблюдение условий применения градуировочной зависимости);
Используемые для построения градуировочной зависимости или ее привязки (дата проведения и результаты испытаний неразрушающими косвенными и прямыми или разрушающими методами, корректирующие коэффициенты);
О числе участков определения прочности бетона в конструкциях с указанием их расположения;
Результаты испытаний;
Методику, результаты обработки и оценки полученных данных.
Стандартная схема испытания методом отрыва со скалыванием
А.1 Стандартная схема испытания методом отрыва со скалыванием предусматривает проведение испытаний при соблюдении требований А.2-А.6.
А.2 Стандартная схема испытаний применима в следующих случаях:
Испытания тяжелого бетона прочностью на сжатие от S до 100 МПа:
Испытания легкого бетона прочностью на сжатие от S до 40 МПа:
Максимальная фракция крупного заполнителя бетона не более рабочей глубины заделки анкерных устройств.
А.З Опоры нагружающего устройствадопжны равномерно прилегать к поверхности бетона на расстоянии не менее 2h от оси анкерного устройства, где Л - рабочая глубина заделки анкерного устройства. Схема испытания приведена на рисунке А.1.

1 - прибор с нагружающим устройством и силойзмеритопом; 2 - опора нагружающею устройства: 3 - захват нагружающего устройства: 4 - переходные элементы, тяги, S - анкерное устройство. 6 - вырываемый бетон (конусотрыва): 7 - испытуемая конструкция
Рисунок А.1 - Схема испытания методом отрыва со скалыванием
А.4 Стандартной схемой испытания методом отрыва со скалыванием предусмотрено применение анкерных устройств трех типов (см. рисунок А.2). Анкерное устройство типе I устанавливают в конструкции при бетонировании. Анкерные устройства типов II и ill устанавливают в предварительно подготовленные в конструкции отверстия.

1 - рабочий стержень: 2 - рабочий стержень с рами иным конусом: 3 - сегментные рифленые щеш: 4 - опорный стержень: 5 - рабочий стержень спелым разжимным конусом: б - выравнивающая шайба
Рисунок А.2 - Типы анкерных устройств для стандартной схемы испытаний
А.5 Параметры анкерных устройств и допустимые для них диапазоны измеряемой прочности бетона при стандартной схеме испытаний указаны в таблице А.1. Для легкого бетона при стандартной схеме испытаний применяются только анкерные устройства с глубиной заделки 48 мм.
Таблица А.1 - Параметры анкерных устройств при стандартной схеме испытаний
|
Тип анкерного устройства |
Диаметр анкерного устройства tf. мм |
Глубина заделки анкерных устройств, мм |
Допустиыый дпя анкерного устройства диапазон измерений прочности на сжатие бетона. МПа |
||
|
ребочея h |
полнея Л" |
тяжелого | |||
А.б Конструкции анкеров типов II и III должны обеспечивать предварительное (до приложения нагрузки) обжатие стенок отверстия на рабочей глубине заделки л и контроль проскальзывания после испытания.
Стандартная схема испытания методом скалывания ребра
Б.1 Стандартная схема испытания методом скалывания ребра предусматривает проведение испытаний при соблюдении требований Б.2-Б.4.
Б.2 Стандартная схема испытаний применима в следующих случаях:
Максимальная фракция крупного заполнителя бетона не более 40 мм:
Испытания тяжелого бетона прочностью на сжатие от 10 до 70 МПа на гранитном и известняковом щебне. Б.З Для проведения испытаний применяют прибор, состоящий из силовозбудителя с блоком силоизме-
ригеля и захвата со скобой для местного скалывания ребра конструкции. Схема испытания приведена на рисунке Б.1.


1 - приборе нагружающим устройством и сипоиэмерителем. 2 - опорная рама: 3 - скалываемый бетон: 4 - испытуемая
конструкция^ - захват со скобой
Рисунок Б.1 - Схема испытания методом скалывания ребра
Б.4 При местном скалывании ребра должны быть обеспечены следующие параметры:
Глубина скалывания а ■ (20 а 2) мм.
Ширина скалывания 0 « (30 а 0.5} мм;
Угол между направлением действия нагрузки и нормалью к нагружаемой поверхности конструкции р» (18 а 1)*.
Градуировочная зависимость для метода отрыва со скалыванием при стандартной схеме испытания
При проведении испытаний методом отрыве со сквлыввнием по стандартной схеме согласно приложению А кубикоеую прочность бетоне не сжатие R. МПа. допускается вычислять по грвдуироаочной зависимости по формуле
Я*П)|П>^. (В.1)
где т, - коэффициент, учитывающий максимальный размер крупного заполнителя в зоне вырыва и принимаемый равным 1 при крупности заполнителя менее 50 мм:
т 2 - коэффициент пропорциональности для перехода от усилия вырыва в килоньютонах к прочности бетона в мегапаскалях:
Р- усилие вырыва анкерного устройства. кН.
При испытании тяжелого бетона прочностью 5 МПа и более и легко го бетона прочностью от 5до40МПа значения коэффициента пропорциональности т 2 принимают по таблице В.1.
Таблица 8.1
|
Тип анкерного устройства |
Диапазон измеряемой прочности бетона на сжатие. МПа |
Диаметр анкерного устройства d. ни |
Глубина заделки анкерного устройства, мм |
Значение коэффициента ш^для бетона |
|
|
тяжелого | |||||
Коэффициенты т 3 при испытании тяжелого бетона со средней прочностью выше 70 МПа следует принимать по ГОСТ 31914.
Градуировочная зависимость для метода скалывания ребра при стандартной схеме испытания
При выполнении ислытвния методом скалываний ребра по стандартной схеме согласно приложению Б кубиковую прочность на сжатие бетона на гранитном и известковом щебне R. МЛа. допускается вычислять по градуировочной зависимости по формуле
R - 0.058m (30Р + P J). (Г.1)
где т - коэффициент, учитывающий максимальный размер крупного заполнителя и принимаемый равным:
1.0 - при крупности заполнителя менее 20 мм:
1.05 - при крупности заполнителя от 20 до 30 мм:
1.1 - прикрупностизаполнителяот30до40мм:
Р - усилие скалывания. кН.
ПриложениеД (обязательное)
Требования к приборам для механических испытаний
Таблица Д.1
|
Наименование характеристик приборов |
Характеристика приборов для метода |
|||||||||||||||||||||||||||||||||||||
|
упругого |
ударного импульса |
пластической деформации |
отрыаа со скапыаа* и нем |
|||||||||||||||||||||||||||||||||||
|
Твердость ударника, бойка или индентора НЯСэ. не менее | ||||||||||||||||||||||||||||||||||||||
|
Шероховатость контактной части ударника или индентора. мкм. не более | ||||||||||||||||||||||||||||||||||||||
|
Диаметр ударника или индентора. мм. не менее | ||||||||||||||||||||||||||||||||||||||
|
Толщина кромок дискового индентора. мм. не менее | ||||||||||||||||||||||||||||||||||||||
|
Угол конического индентора | ||||||||||||||||||||||||||||||||||||||
|
Диаметр отпечатка, % диаметра индентора | ||||||||||||||||||||||||||||||||||||||
|
Допуск перпендикулярности при приложении нвгрузки не высоте 100 мм. мм | ||||||||||||||||||||||||||||||||||||||
|
Энергия ударе. Дж. не менее | ||||||||||||||||||||||||||||||||||||||
|
Скорость увеличения нагрузки. кН/с | ||||||||||||||||||||||||||||||||||||||
|
Погрешность измерения нагрузки, Ч. не более |
5 здесь RjN - см. экспликацию к формуле (£.3). После отбраковки градуировочную зависимость устанавливают вновь по формулам (£.1)-(E.S) по оставшимся результатам испытания. Отбраковку оставшихся результатов испытаний повторяют, рассматривая выполнение условия (Е.6) при использовании новой (скорректированной) градуировочной зависимости. Частные значения прочности бетона должны удовлетворять требованиям 6.1.7. £.3 Параметры градуировочной зависимости Для принятой градуировочной зависимости определяют: Минимальное и максимальное значения косвенной характеристики Н дал. Среднеквадратическое отклонение^ н м построенной градуировочной зависимости по формуле (Е.7); Коэффициент корреляции градуировочной зависимости г по формуле
где среднее значение прочности бетона по градуировочной зависимости рассчитывают по формупе
здесь значения R (H . Я ф.Я ф. N - см. экспликации к формулам (Е.Э). (Е.б). Е.4 Корректировка градуировочной зависимости Корректировка установленной градуировочной зависимости с учетом дополнительно получаемых результатов испытаний должна проводиться не реже одного раза в месяц. При корректировке градуировочной зависимости к существующим результатам испытаний добавляют не менее трех новых результатов, полученных при минимальном, максимальном и промежуточном значениях косвенного показателя. По мере накопления данных для построения градуировочной зависимости результаты предыдущих испытаний. начиная с самых первых, отбраковывают, чтобы общее число результатов не превышало 20. После добавления новых результатов и отбраковки старых минимальное и максимальное значения косвенной характеристики, градуировочную зависимость и ее параметры устанавливают вновь по формулам (Е.1)-(Е.9). E.S Условия применения градуировочной зависимости Применение градуировочной зависимости для определения прочности бетона по настоящему стандарту допускается только для значений косвенной характеристики, попадающей в диапазон от Н тл до н тад. Если коэффициент корреляции г< 0.7 или значение 5 тнм "Я ф > 0.15. то проведение контроля и оценка прочности по полученной зависимости не допускаются. Методика привязки градуировочной зависимости Ж.1 Значение прочности бетона, определяемое с использованием градуировочной зависимости, установленной для бетона, отличающегося от испытуемого, умножают на коэффициент совпадения К с. Значение вычисляют по формупе где - прочность бетона в t-м участке, опредепяемвя методом отрыва соскалыванием или испытанием кернов поГОСТ 26570; Я мса, - прочность бетона в <-м участке, опредепяемвя пюбым косвенным методом по используемой градуировочной зависимости: л - число участков испытаний. Ж.2 При вычислении коэффициента совпадения должны быть соблюдены условия: Число участков испытаний, учитываемых при вычислении коэффициента совпадения, п i 3; Каждое частное значение Я к,/Я (0са ^должно быть не менее 0.7 и не более 1.3: Каждое частное значение Я^. , должно отличаться от среднего значения не более чем на 15%: Значения Яде не удовлетворяющие условиям (Ж.2). (Ж.З). не должны учитываться при вычислении коэффициента совпадения К с. Назначение числа участков испытаний сборных и монолитных конструкций И.1 В соответствии с ГОСТ 18105 при контроле прочности бетона сборных конструкций (отпускной или передвточной)чнсло контролируемых конструкций каждого вида принимают не менее ЮЧи не менее ^конструкций из партии. Если партия состоит из 12 конструкций и менее, проводят сплошной контроль. При этом число участковдопжно быть не менее: 1 не 4 м длины линейных конструкций: 1 на 4 м 2 площади плоских конструкций. И.2 В соответствии с ГОСТ 18105 при контроле прочности бетона монолитных конструкций в промежуточном возрасте нераэрушвюшими методами контролируют не менее одной конструкции каждого вида (колонне, стена, перекрытие, ригель и т. д.)из контролируемой партии. И.З В соответствии с ГОСТ 18105 при контроле прочности бетона монолитных конструкций в проектном возрасте проводят сплошной нервэрушающий контроль прочности бетона всех конструкций контролируемой партии. При этом число участков испытаний должно быть не менее: 3 на каждую захватку для плоских конструкций (стена, перекрытие, фундаментная плита); 1 на 4 м длины (или 3 на захватку) для каждой линейной горизонтальной конструкции (балка, ригели); 6 на каждую конструкцию - для линейных вертикальных конструкций (колонна, пилон). Общее число участков измерений для расчета характеристик однородности прочности бетона партии конструкций должно быть не менее 20. И.4 Число единичных измерений прочности бетона механическими методами нервзрушающего контроля на каждом участке (число измерений на участке) принимают по таблице 2. Форма таблицы представления результатов испытаний
УДК 691.32.620.17:006.354 МКС 91.100.10 NEQ Ключевые слова: конструктивные тяжелые и легкие бетоны, монолитные и сборные бетонные и железо* бетонные изделия, конструкции и сооружения, механические методы определения прочности на сжатие, упругий отскок, ударный импульс, пластическая деформация, отрыв, скалывание ребра, отрыв со скалыванием Редактор Т.Т Мартынова Технический редактор 8.Н. Прусакова Корректор М 8. Вучиая Компьютерная верстка И.А. Напайкиной Сдано в набор 29.12.201S. Подписано а печать 06.02 2016. Формат 60 «64^. Гарнитура Ариал. Уел. печ. л. 2.7В. Уч.-иад. л. 2,36. Тира» 60 экэ. Зак. 263. Издано и отпечатано во ФГУП «СТАНДАРТИНФОРМ», 12399$ Москва. Гранатный пер.. 4. | |||||||||||||||||||||||||||||||||||||
В.А.Клевцов, д-р техн. наук (руководитель темы); М.Г.Коревицкая, канд. техн. наук; Ю.К.Матвеев; В.Н.Артамонова; Н.С.Вострова; А.А.Гребеник; Г.В.Сизов, канд. техн. наук; Д.А.Коршунов, канд. техн. наук; М.В.Сидоренко, канд. техн. наук; Ю.И.Кураш, канд. техн. наук; А.М.Лещинский, канд. техн. наук; В.Р.Абрамовский; В.А.Дорф, канд. техн. наук; Э.Г.Соркин, канд. техн. наук; В.Л.Черняховский, канд. техн. наук; И.О.Кроль, канд. техн. наук; С.Я.Хомутченко; Я.Е.Ганин; О.Ю.Саммал, канд. техн. наук; А.А.Рульков, канд. техн. наук; П.Л.Тальберг; А.И.Марков, канд. техн. наук; Р.О.Красновский, канд. техн. наук; Л.С.Павлов, канд. техн. наук; М.Ю.Лещинский, канд. техн. наук; Г.А.Целыковский; И.Э.Школьник, канд. техн. наук; Т.Ю.Лапенис, Г.И. Вайнгартен, канд. техн. наук; Н.Б.Жуковская; С.П. Абрамова; И.Н. Нагорняк
Настоящий стандарт распространяется на тяжелый и легкий бетоны и устанавливает методы определения прочности на сжатие в конструкциях по упругому отскоку, ударному импульсу, пластической деформации, отрыву, скалыванию ребра и отрыву со скалыванием.
Размеры отпечатка на бетоне (диаметр, глубина и т.п.) или соотношение диаметров отпечатков на бетоне и стандартном образце при ударе индентора или вдавливании индентора в поверхность бетона;
Значение напряжения, необходимого для местного разрушения бетона при отрыве приклеенного к нему металлического диска, равного усилию отрыва, деленному на площадь проекции поверхности отрыва бетона на плоскость диска;
1.3. Механические методы неразрушающего контроля применяют для определения прочности бетона всех видов нормируемой прочности, контролируемых по ГОСТ 18105, а также для определения прочности бетона при обследовании и отбраковке конструкций.
1.4. Испытания проводят при положительной температуре бетона. Допускается при обследовании конструкций определять прочность при отрицательной температуре, но не ниже минус 10 °С при условии, что к моменту замораживания конструкция находилась не менее одной недели при положительной температуре и относительной влажности воздуха не более 75%.
1.5. Оценку соответствия значений фактической прочности бетона, полученных с применением приведенных в настоящем стандарте методов установленным требованиям, производят по ГОСТ 18105.
2.1. Прочность бетона определяют при помощи приборов, предназначенных для определения косвенных характеристик, прошедших метрологическую аттестацию по ГОСТ 8.326* и отвечающих требованиям, приведенным в табл.2.
| Наименование характеристик приборов | Характеристика приборов для метода | |||||
| упругого отскока | ударного импульса | пластической деформации | отрыва | скалывания ребра | отрыва со скалыванием | |
| Твердость ударника, бойка или индентора HRCэ, не менее | ||||||
| Шероховатость контактной части ударника или индентора, мкм, не более | ||||||
| Диаметр ударника или индентора, мм, не менее | ||||||
| Толщина кромок дискового индентора, мм, не менее | 10 | |||||
| Угол конического индентора | 30-60° | |||||
| Диаметр отпечатка, % от диаметра индентора | 20-70 | |||||
| Допуск перпендикулярности при приложении нагрузки на высоте 100 мм, мм |
||||||
| Энергия удара, Дж, не менее | 0,02 | |||||
| Скорость увеличения нагрузки, кН/с | 1,5* | 0,5-1,5 | 0,5-1,5 | 1,5-3,0 | ||
| Погрешность измерения нагрузки от измеряемой нагрузки, %, не более | 5* | |||||
2.2. Инструмент для измерения диаметра или глубины отпечатков (угловой масштаб по ГОСТ 427, штангенциркуль по ГОСТ 166 и др.), используемый для метода пластических деформаций, должен обеспечивать измерения с погрешностью не более ±0,1 мм, а инструмент для измерения глубины отпечатка (индикатор часового типа по ГОСТ 577 и др.) - с погрешностью не более ±0,01 мм.
Допускается применять также другие анкерные устройства, глубина заделки которых должна быть не менее максимального размера крупного заполнителя бетона испытуемой конструкции.
2.5. Для метода отрыва следует использовать стальные диски диаметром не менее 40 мм, толщиной не менее 6 мм и не менее 0,1 диаметра, с параметром шероховатости приклеиваемой поверхности не менее 20 мкм по ГОСТ 2789. Клей для приклейки диска должен обеспечивать прочность, при которой
3.1. Для определения прочности бетона в конструкциях предварительно устанавливают градуировочную зависимость между прочностью бетона и косвенной характеристикой прочности (в виде графика, таблицы или формулы).
Для метода отрыва со скалыванием, в случае применения анкерных устройств в соответствии с приложением 2, и для метода скалывания ребра, в случае применения приборов в соответствии с приложением 3, допускается использовать градуировочные зависимости, приведенные в приложениях 5 и 6 соответственно.
Прочность бетона на сжатии – это основной показатель, который характеризует бетон.
Существуют две системы выражения данного показателя:
Прочность бетона на сжатии - это основной показатель, который характеризует бетон. Именно на него ориентируется неразрушающий контроль прочности бетона в монолитных конструкциях. Существуют две системы выражения данного показателя:
- Класс бетона, B - это так называемая кубиковая прочность (т. е. сжимаемый образец в форме куба), показывающая выдерживаемое давление в МПа. Доля вероятности разрушения во время испытания бетона на прочность не превышает 5 единиц из 100 испытуемых образцов. Обозначается латинской буквой B и числом, показывающим прочность в МПа. Согласно СНиП 2.03.01–84 «Бетонные и железобетонные конструкции».
- Марка бетона, M - это предел прочности бетона на сжатие, кгс/см². Обозначается латинской буквой М и числами от 50 до 1000. Максимальное отклонение, которое допускает контроль и оценка прочности бетона по ГОСТ 26633–91 «Бетоны тяжелые и мелкозернистые, - 13,5%.
Марка бетона и класс определяются спустя 28 дней со дня заливки, при нормальных условиях, или расчет ведется с учетом коэффициента (через 7–14 суток материал приобретает 60–80% марочной прочности, через 28 суток примерно 100%, через 90 суток -130%.). Ультразвуковой метод неразрушающего контроля бетона проводят, как правило, в промежуточном и проектном возрасте железобетонной конструкции.
На прочность бетона влияет ряд факторов: активность цемента, содержание цемента, отношение воды к цементу по массе, качество заполнителей, качество перемешивания и степень уплотнения, возраст и условия твердения бетона, повторное вибрирование. На скорость твердения бетона большое влияние оказывает температура и влажность среды. Условно-нормальной считается среда с температурой 15–20°С и влажностью воздуха 90–100%. С повышением содержания цемента в бетоне его прочность растет до определенного предела. Затем она растет незначительно, другие же свойства бетона ухудшаются: увеличивается усадка, ползучесть. Поэтому не рекомендуется вводить на 1 м³ бетона более 600 кг цемента.
Соответствие марки бетона (М) классу (В) и прочности на сжатие
|
Марка бетона, М |
Класс бетона, B |
Прочность, МПа |
Прочность, кг/см 2 |
Метод отрыва со скалыванием занимает в ряду неразрушающих методов определения прочности бетона особое место. Считаясь неразрушающим методом, метод отрыва со скалыванием по своей сущности является разрушающим методом, так как прочность бетона оценивается по усилию, необходимому для разрушения небольшого объема бетона, что позволяет наиболее точно оценить его фактическую прочность. Поэтому этот метод применяется не только для определения прочности бетона неизвестного состава, но и может служить для построения градуировочных зависимостей для других методов неразрушающего контроля. Этот метод применяется на тяжелые бетоны и конструкционные бетоны на легких заполнителях в монолитных и сборных бетонных и железобетонных изделиях, конструкциях и сооружениях и устанавливает метод испытания бетона и определения его прочности на сжатие путем местного разрушения бетона при вырыве из него специального анкерного устройства. Такой ультразвуковой метод контроля прочности бетона позволяет определить прочность на сжатие для бетонов в диапазоне прочностей от 5,0 до 100,0 МПа. При разработке стандарта использованы материалы ГОСТ 22690–88.
Одним из наиболее распространенных и эффективных способов неразрушающего контроля определения прочности бетона является измерение склерометром, или как его еще называют, молоток Шмидта.
Методы определения прочности бетона: используемое оборудование
С помощью представленных ниже приборов можно проводить испытания бетона неразрушающим методом. Это позволяет точнее прогнозировать физические характеристики готовых железобетонных конструкций, а значит - минимизировать убытки строительной организации и оградить заказчика работ от всевозможных неприятностей.
Помимо прочего, такой контроль качества бетона допускает проведение проверок бетона, температура которого опустилась ниже 0ºС. Традиционные методы контроля качества бетона в лабораторных условиях таким удобством похвастать не могут: ранее приходилось брать образец и проверять его при комнатной температуре в лабораторных условиях. Интересно современное решение еще и тем, что подрядчики могут не прибегать к услугам профильных организаций на каждом этапе строительных работ. В свою очередь, специалисты могут самостоятельно приехать на объект и провести экспертизу качества бетона в соответствии с нормами ГОСТ. Оборудование достаточно компактно и мобильно, а подготовка результатов занимает минимум времени.
Используемое оборудование
Молоток Шмидта Original Schmidt type N
Испытание изделий из бетона посредством молотка Шмидта Original Schmidt – наиболее распространенная во всем мире методика измерения, не разрушающая бетон в соответствии с ГОСТ 22690-2015
Для каждого конкретного вида испытаний изделий из бетона компания Proceq предлагает соответствующую модель молотка.
Доступны модели молотков Шмидта для испытаний бетонных изделий типа Original Schmidt с различными энергиями удара для испытания материалов разнообразных типов и размеров.
Наши молотки типов N, NR, L и LR специально разработаны для оценки качества и прочности на сжатие бетонных изделий с диапазоном от 10 до 70 Н/мм2 (от 1 450 до 10 152 фунтов/кв. дюйм).
Модели со встроенными бумажными самописцами (LR и NR) способны автоматически регистрировать значения отскока на бумажной ленте.
Сертификат утверждения типа СИ Брошюра Молотки Шмидта
ПОС-50МГ4"Скол" предназначен для неразрушающего контроля прочности бетона методами скалывания ребра, отрыва со скалыванием и отрыва стальных дисков по ГОСТ 22690-2015.
Измерение прочности бетона с помощью такого оборудования допускается как на возводимых проектах, так и у готовых зданий. Прибор незаменим в строительной сфере, в работе коммунальных служб и реставрационных бюро, периодически проверяющих целостность зданий. Модель получила энергонезависимую память, в которой сохраняется двести последних результатов измерений. Они маркируются маркой бетона и точной датой проведения анализа, позволяя специалистам легко отслеживать динамику изменения ключевых показателей.

